Baza pomiarowa DimXpert Wymiarów
Narzędzie Baza pomiarowa DimXpert Wymiarów
służy do definiowania baz pomiarowych. Narzędzie to obsługuje następujące typy operacji:
Dodanie
Walec
Wrąb
Płaszczyzna
Otwór prosty
Szczelina
Szerokość
Aby zastosować symbol bazy pomiarowej, należy:
Kliknąć Baza pomiarowa
(pasek narzędzi DimXpert Wymiarów) lub Narzędzia, DimXpert Wymiarów, Baza pomiarowa.
Wybrać ścianę bazy pomiarowej i kliknąć w obszarze graficznym, aby umieścić symbol bazy pomiarowej.
Jeżeli wybrana ściana może być użyta do zdefiniowania więcej niż jednego typu operacji, należy użyć selektora operacji, aby wybrać żądaną operację.
Kliknąć
.
Można również ustawić opcje przyłączenia bazy pomiarowej tol. poł. i kszt..
Opcje menedżera właściwości PropertyManager
Większość opcji menedżera właściwości PropertyManager Baza pomiarowa DimXpert Wymiarów jest taka sama jak dla menedżera właściwości PropertyManager Baza pomiarowa bez funkcji DimXpert Wymiarów. Różnice są odnotowane poniżej.
Ustawienia etykiety
Podczas stosowania lub edytowania bazy pomiarowej, należy wprowadzić Etykietę bazy pomiarowej i przypisać typ linii wiodącej.
Określić etykietę początkową w części Narzędzia, Opcje, Właściwości dokumentu, Standard projektowania, Adnotacje, Bazy pomiarowe.
Podczas wprowadzania etykiet baz pomiarowych, sprawdzana jest składnia wprowadzanych danych według standardu aktywnego dokumentu. Na przykład:
Wprowadzenie wartości numerycznej generuje komunikat ostrzeżenia dla wszystkich standardów.
Wprowadzenie I, O lub Q generuje komunikat ostrzeżenia w przypadku pracy w standardzie ANSI.
Wprowadzenie AA generuje komunikat ostrzeżenia w przypadku pracy w standardzie ISO.
Linia wiodąca
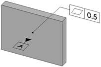
Przykłady baz pomiarowych wg operacji
Dodanie |

|
|
|
Walec |

|
|
|
Wrąb |

|
|
|
Płaszczyzna |

|
|
|
Otwór prosty |

|
|
|
Szczelina |

|
|
|
Szerokość |

|