DimXpert - Riferimento
Utilizzare lo strumento Riferimento
di DimXpert per definire le funzioni di Riferimento. Lo strumento supporta i seguenti tipi di funzione:
-
Estrusione
-
Cilindro
-
Intaglio
-
Piano
-
Foro semplice
-
Asola
-
Larghezza
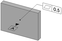
Per applicare un simbolo di funzione di Riferimento:
-
Fare clic su Riferimento
nella barra degli strumenti DimXpert oppure selezionare Strumenti, DimXpert, Riferimento.
-
Selezionare la faccia della funzione Riferimento e fare clic nell'area grafica per inserire il simbolo.
Se la faccia selezionata può essere usata per definire altri tipi di funzione, utilizzare il selettore di funzioni per scegliere le funzioni desiderate.
-
Fare clic su
.
È anche possibile impostare le opzioni di attacco delle tollg di riferimento.
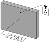
Opzioni del PropertyManager
La maggior parte delle opzioni del PropertyManager di Funzione Riferimento di DimXpert sono identiche a quelle del PropertyManager di Funzione Riferimento non appartenente a DimXpert. Le differenze sono evidenziate di seguito.
Impostazioni etichetta
Quando si applica o modifica un riferimento, si immette un'Etichetta e si assegna un tipo di linea di associazione.
Specificare l'etichetta iniziale in Strumenti, Opzioni, Proprietà del documento, Standard di disegno, Annotazioni, Riferimenti.
Quando si immettono etichette Riferimento, la sintassi dei dati viene verificata alla luce dello standard di disegno attivo. Ad esempio:
-
L'immissione di un valore numerico genera un'avvertenza per tutti gli standard.
-
L'immissione di I, O oppure Q genera un'avvertenza nello standard ANSI.
-
L'immissione di AA genera un'avvertenza nello standard ISO.
Linea di associazione
Esempi di Riferimento per funzione
Estrusione
|

|
|
|
Cilindro
|

|
|
|
Intaglio
|

|
|
|
Piano
|

|
|
|
Foro semplice
|

|
|
|
Asola
|

|
|
|
Larghezza
|

|