Expand IntroduzioneIntroduzione
Expand AmministrazioneAmministrazione
Expand Interfaccia utenteInterfaccia utente
Collapse Nozioni fondamentali su SolidWorksNozioni fondamentali su SolidWorks
Expand Migrazione da 2D a 3DMigrazione da 2D a 3D
Expand AssiemiAssiemi
Expand CircuitWorksCircuitWorks
Expand ConfigurazioniConfigurazioni
Expand SolidWorks CostingSolidWorks Costing
Expand Design CheckerDesign Checker
Expand Studi progettuali in SolidWorksStudi progettuali in SolidWorks
Expand Disegni e dettagliDisegni e dettagli
Expand DFMXpressDFMXpress
Expand DriveWorksXpressDriveWorksXpress
Expand FloXpressFloXpress
Expand Importazione ed esportazioneImportazione ed esportazione
Expand Progettazione su grande scalaProgettazione su grande scala
Expand Visualizzazione modelloVisualizzazione modello
Expand Progettazione di stampiProgettazione di stampi
Expand Studi del movimentoStudi del movimento
Expand Parti e funzioniParti e funzioni
Expand InstradamentoInstradamento
Expand LamieraLamiera
Expand SimulationSimulation
Expand SimulationXpressSimulationXpress
Expand SchizziSchizzi
Expand Prodotti SustainabilityProdotti Sustainability
Expand SolidWorks UtilitiesSolidWorks Utilities
Expand TolleranzeTolleranze
Expand ToolboxToolbox
Expand SaldatureSaldature
Expand Workgroup PDMWorkgroup PDM
Expand DiagnosticaDiagnostica
Expand GlossaryGlossary
Nascondi Sommario

Proprietà del documento - Bollature

È possibile specificare le impostazioni di disegno a livello del documento per le annotazioni delle bollature. Queste impostazioni possono essere sovrascritte nel PropertyManager.

Per aprire questa pagina, quando è aperto un disegno fare clic su Opzioni nella barra degli strumenti Standard, selezionare la scheda Proprietà del documento, quindi Annotazioni > Bollature.

Standard di disegno generale


Standard di disegno generale Ereditato dalle impostazioni di pagina Standard di disegno selezionate.

Standard di bollature base

Standard di bollature base
Selezionare uno standard:
  • ANSI
  • ISO
  • DIN
  • JIS
  • BSI
  • GOST
  • GB

Stile linee di associazione


Stile linee di associazione Selezionare: uno stile.
Spessore linea di associazione Selezionare: uno spessore o selezionare Dimensione personalizzata ed immettere uno spessore.

Stile contorno


Stile contorno Imposta lo stile per la sagoma circostante il testo.
Spessore contorno Selezionare: uno spessore o selezionare Dimensione personalizzata ed immettere uno spessore.

Testo


Carattere

Fare clic per cambiare il tipo di carattere.


Superiore Per la sezione superiore di bollature con linea di divisione circolare, o per tutti gli altri tipi di bollature, selezionare:
  • Testo
  • Numero articolo
  • Quantità
  • Proprietà personalizzata
Superiore si applica alle bollature singole e impilate.
Inferiore Per la sezione inferiore delle bollature con linea di divisione circolare, selezionare:
  • Testo
  • Numero articolo
  • Quantità
  • Proprietà personalizzata

Visualizzazione delle linee di associazione


Visualizzazione linea di associazione Effettuare una selezione da:

  • Lineare
  • Piegata. Inserisce una piegatura orizzontale nella linea di associazione che è allineata con il testo. Selezionare:
    • Usa lunghezza della linea di associazione del documento. Deriva la lunghezza della linea di associazione dalle impostazioni di pagina delle Annotazioni.
    • Lunghezza linea di associazione. Impostare la lunghezza della porzione non piegata della linea di associazione.

Livello


Livello
Selezionare un livello.
Creare anzitutto i livelli del disegno prima di selezionarli per le proprietà del documento.

È necessario selezionare Per standard in Livello nella barra degli strumenti Livello del documento di disegno per applicare queste impostazioni di livello.

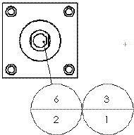
Bollatura singola

Stile Selezionare Nessuno per visualizzare il testo della bollatura senza margine o per selezionare la forma di una bollatura. La scelta di default è Circolare.
Circolare Triangolare
Esagono A scatola
Rombo Pentagono
Linea di divisione circolare Bandiera - Cinque lati
Bandiera - Triangolo Sottolineato
Quadrato Cerchio quadrato
Ispezionare Nessuno
Dimensione Selezionare una dimensione (un numero specifico di caratteri), Forzamento (che si adatta automaticamente al testo) o Dimensione personalizzata (dove è possibile impostare la dimensione della bollatura).

Bollature impilate

Stile Selezionare la sagoma di una bollatura.
Dimensione

Selezionare una dimensione (un numero specifico di caratteri), Forzamento (che si adatta automaticamente al testo) o Dimensione personalizzata (dove è possibile impostare la dimensione della bollatura).

Layout bollature automatiche

Selezionare un layout:
  • Quadrato
  • Inferiore
  • Sinistra
  • Circolare
  • Superiore
  • Destra
Layout quadrato


Fornisci il feedback su questo argomento

SOLIDWORKS apprezza il feedback degli utenti relativamente alla presentazione, la precisione e l'esaustività della documentazione. Usare il modulo riportato di seguito per inviare i propri commenti e suggerimenti su questo argomento direttamente al nostro team della documentazione. Questo team non è in grado di rispondere a domande di natura tecnica. Fare clic qui per informazioni sul supporto tecnico.

* Obbligatoria

 
*Email:  
Oggetto:   Feedback sugli argomenti della guida
Pagina:   Proprietà del documento - Bollature
*Commento:  
*   Confermo di aver letto e accettato l'informativa sulla privacy che regola l'utilizzo dei miei dati personali da parte di Dassault Systèmes

Stampa argomento

Selezionare il contenuto da stampare:

x

L'utente utilizza una versione di Internet Explorer precedente alla versione 7. Per una visualizzazione ottimale, consigliamo di fare l'upgrade del proprio browser a Internet Explorer 7 o successiva.

 Non mostrare nuovamente questo messaggio
x

Versione contenuto guida Web: SOLIDWORKS 2012 SP05

Per disattivare la guida Web dall'interno di SOLIDWORKS e usare invece la guida locale, fare clic su ? > Usa la guida Web di SOLIDWORKS.

Per segnalare i problemi riscontrati con l'interfaccia e la funzionalità di ricerca della guida Web, contattare il rappresentante del supporto locale. Per fornire un feedback su singoli argomenti della guida, usare il link "Feedback su questo argomento" nella pagina del singolo argomento.