Spostamento e copiatura delle quote
Una volta visualizzata una quota in un disegno, è possibile spostarla dentro o su una vista diversa. Quando si trascina una quota da un punto all'altro, questa si connetterà nuovamente al modello nel modo opportuno. È possibile spostare o copiare le quote solo in una vista con orientamento appropriato a tali quote.
|
|
-
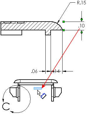
Per passare una quota su una funzione diversa della stessa dimensione all'interno di una vista, selezionare la quota e trascinare e rilasciare il quadratino testa freccia su un altro bordo. Questo metodo funziona solo per le quote radiali, diametriali e di smusso.
|

|
-
Per spostare le quote da una vista all'altra, tenere premuto il tasto Shift mentre le quote vengono trascinate nella nuova vista.
-
Per copiare le quote da una vista all'altra, tenere premuto il tasto Ctrl mentre le quote vengono trascinate nella nuova vista. Usare questo metodo per creare multiple quote guida.
|

|
|
|
|

|
Argomenti correlati