Expand IntroduzioneIntroduzione
Expand AmministrazioneAmministrazione
Expand Interfaccia utenteInterfaccia utente
Expand Nozioni fondamentali su SolidWorksNozioni fondamentali su SolidWorks
Expand Migrazione da 2D a 3DMigrazione da 2D a 3D
Expand AssiemiAssiemi
Expand CircuitWorksCircuitWorks
Expand ConfigurazioniConfigurazioni
Expand SolidWorks CostingSolidWorks Costing
Expand Design CheckerDesign Checker
Expand Studi progettuali in SolidWorksStudi progettuali in SolidWorks
Collapse Disegni e dettagliDisegni e dettagli
Expand Panoramica dettagliPanoramica dettagli
Collapse AnnotazioniAnnotazioni
Expand TabelleTabelle
Expand Distinta materialiDistinta materiali
Expand Colonne e righe di tabellaColonne e righe di tabella
Aggiunta del testo del simbolo alla distinta materiali o celle di tabella
Espansione di tabelle
Expand Equazioni in tabelleEquazioni in tabelle
Expand Standard di disegnoStandard di disegno
Expand Impostazioni di stampaImpostazioni di stampa
Expand DisegniDisegni
Expand DFMXpressDFMXpress
Expand DriveWorksXpressDriveWorksXpress
Expand FloXpressFloXpress
Expand Importazione ed esportazioneImportazione ed esportazione
Expand Progettazione su grande scalaProgettazione su grande scala
Expand Visualizzazione modelloVisualizzazione modello
Expand Progettazione di stampiProgettazione di stampi
Expand Studi del movimentoStudi del movimento
Expand Parti e funzioniParti e funzioni
Expand InstradamentoInstradamento
Expand LamieraLamiera
Expand SimulationSimulation
Expand SimulationXpressSimulationXpress
Expand SchizziSchizzi
Expand Prodotti SustainabilityProdotti Sustainability
Expand SolidWorks UtilitiesSolidWorks Utilities
Expand TolleranzeTolleranze
Expand ToolboxToolbox
Expand SaldatureSaldature
Expand Workgroup PDMWorkgroup PDM
Expand DiagnosticaDiagnostica
Expand GlossaryGlossary
Nascondi Sommario

Impostazione delle opzioni per le tacche di centratura

Per impostare le opzioni per le tacche di centratura:

  1. Fare clic su Opzioni Tool_Options_Standard.gif e selezionare Linee di mezzeria/Tacche di centratura dalla scheda Proprietà del documento.
  2. In Tacche di centratura:
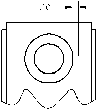
    1. Immettere un valore per Dimensione. Dimensione controlla la lunghezza di estensione della tacca di centratura oltre il bordo del modello e la dimensione del simbolo del punto nel centro.
      cline_cmark_size.gif
    2. Selezionare o deselezionare le caselle di controllo per Linee estese e Carattere linea di mezzeria.
  3. In Tacche di centratura cava, selezionare Orienta rispetto alla cava o Orienta rispetto al foglio e scegliere un'opzione di ubicazione della tacca di centratura con asola. Queste impostazioni determinano come vengono generate le asole diritte e curve.
  4. Selezionare Dettagli nella scheda Proprietà del documento. In Inserimento automatico in creazione vista, selezionare o deselezionare la casella per:
    • Tacche di centratura - fori -parte
    • Tacche di centratura - raccordi -parte
    • Tacche di centratura - asole -parte
    • Tacche di centratura - fori -assieme
    • Tacche di centratura - raccordi -assieme
    • Tacche di centratura - asole -assieme

    Quando l'opzione è selezionata, le tacche di centratura vengono inserite automaticamente in tutte le circonferenze, gli archi e i raccordi appropriati nelle nuove viste di disegno.

  5. Fare clic su OK.


Fornisci il feedback su questo argomento

SOLIDWORKS apprezza il feedback degli utenti relativamente alla presentazione, la precisione e l'esaustività della documentazione. Usare il modulo riportato di seguito per inviare i propri commenti e suggerimenti su questo argomento direttamente al nostro team della documentazione. Questo team non è in grado di rispondere a domande di natura tecnica. Fare clic qui per informazioni sul supporto tecnico.

* Obbligatoria

 
*Email:  
Oggetto:   Feedback sugli argomenti della guida
Pagina:   Impostazione delle opzioni per le tacche di centratura
*Commento:  
*   Confermo di aver letto e accettato l'informativa sulla privacy che regola l'utilizzo dei miei dati personali da parte di Dassault Systèmes

Stampa argomento

Selezionare il contenuto da stampare:

x

L'utente utilizza una versione di Internet Explorer precedente alla versione 7. Per una visualizzazione ottimale, consigliamo di fare l'upgrade del proprio browser a Internet Explorer 7 o successiva.

 Non mostrare nuovamente questo messaggio
x

Versione contenuto guida Web: SOLIDWORKS 2012 SP05

Per disattivare la guida Web dall'interno di SOLIDWORKS e usare invece la guida locale, fare clic su ? > Usa la guida Web di SOLIDWORKS.

Per segnalare i problemi riscontrati con l'interfaccia e la funzionalità di ricerca della guida Web, contattare il rappresentante del supporto locale. Per fornire un feedback su singoli argomenti della guida, usare il link "Feedback su questo argomento" nella pagina del singolo argomento.