隐藏目录

设置中心符号线选项

要为中心符号线设置选项,请执行以下操作:

  1. 单击选项 Tool_Options_Standard.gif,然后在文档属性选项卡中选择中心线/中心符号线
  2. 中心符号线下:
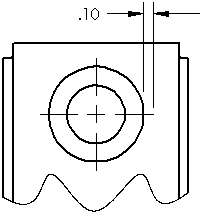
    1. 键入大小值。 大小控制中心符号线延伸通过模型边线的长度以及中心的点符号大小。
      cline_cmark_size.gif
    2. 选择或清除延伸线中心线型的复选框。
  3. 槽口中心符号线下选择对齐到槽口对齐到图纸,然后选择一个槽口中心符号线位置选项。 这些设置可确定如何创建直槽口和弯槽口。
  4. 文档属性选项卡中选择出详图。 在创建视图时自动插入下选择或清除复选框。
    • 中心符号线 - 孔 - 零件
    • 中心符号线 - 圆角 - 零件
    • 中心符号线 - 槽口 - 零件
    • 中心符号线 - 孔 - 装配体
    • 中心符号线 - 圆角 - 装配体
    • 中心符号线 - 槽口 - 装配体

    当被选择时,中心符号线自动插入到新工程图视图中的所有适当圆、圆弧、及圆角中。

  5. 单击确定


提供对该主题的反馈

SOLIDWORKS 欢迎您对此文档的外观、准确性及完整性提供反馈。请使用以下表格,将您对该主题的评论和建议直接发送给我们的文档团队。文档团队不能回答技术支持问题。单击此处获取有关技术支持的信息

* 必填

 
*电子邮件:  
主题:   对帮助主题的反馈
页面:   设置中心符号线选项
*评论:  
*   本人确认已阅读并且接受 Dassault Systèmes 按照《隐私政策》使用本人的个人数据

打印主题

选择要打印的内容范围:

x

我们检测到您在使用旧于 Internet Explorer 7 的浏览器版本。为优化显示,我们建议您将您的浏览器升级到 Internet Explorer 7 或以上。

 永不再显示此信息
x

Web 帮助内容版本:SOLIDWORKS 2012 SP05

要从 SOLIDWORKS 中禁用 Web 帮助并使用本地帮助,请单击帮助 > 使用 SOLIDWORKS Web 帮助

要报告在 Web 帮助界面和搜索中所遇到的问题,请联系您的当地支持代表。要提供单个帮助主题的反馈,请使用单个主题页面上的“对该主题的反馈”链接。