DimXpert 基準
使用 DimXpert 基準
工具可定義基準特徵。 工具支援以下特徵類型:
套用基準特徵符號︰
-
按一下基準
(DimXpert 工具列),或依次按工具、DimXpert、基準。
-
選擇基準特徵的面,然後在圖面中按一下以放置基準特徵符號。
如果所選的面可以用來定義多個特徵類型,請使用特徵選擇器來選擇所需的特徵。
-
按一下
。
您亦可設定基準 gtol 附加選項。
PropertyManager 選項
大多數的 DimXpert 基準特徵 PropertyManager 的選項與非 DimXpert 基準特徵 PropertyManager 的選項均相同。 不同之處列出如下。
標示設定
套用或編輯基準時,請輸入基準標籤,並指定導線類型。
在工具、選項、文件屬性、草稿標準、註記、基準下,指定開始標籤。
輸入基準標籤時,會根據使用中工程圖標準來檢查輸入內容的語法。 例如:
導線
-
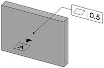
曲面 。 附加基準三角形至特徵的表面。
|

|
|
-
指引的導線 。 附加基準三角形至指引的導線。
|

|
|
-
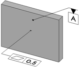
尺寸 。 附加基準三角形至尺寸或特徵控制框架。
|

|
x00a0;
|
-
Gtol 。 附加基準三角形至特徵控制框架。
|

|
|
基準範例(依特徵)