Le PropertyManager Objets du modèle
Spécifiez les propriétés suivantes lorsque vous insérez des objets du modèle dans une mise en plan.
Source/Destination
Source
|

|
|

|
|

|
-
Assemblage uniquement (mises en plan d'assemblage uniquement). Insère les objets des fonctions d'assemblage uniquement. Ainsi, vous pouvez insérer des cotes résidant exclusivement dans l'assemblage, comme les contraintes de Distance et d'Angle.
|

|
Importer les objets dans toutes les vues. Insère les objets du modèle dans toutes les vues de mise en plan sur la feuille. Lorsque cette option est désactivée, vous devez sélectionner les vues de mise en plan dans lesquelles vous voulez importer les objets du modèle.
Vue(s) de destination. Liste les vues de mise en plan dans lesquelles les objets de modèle seront insérés. Cette option n'est disponible que lorsque la case à cocher Importer les objets dans toutes les vues est désactivée.
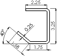
Cotes
Marquées pour la mise en plan
|
|
Non marquées pour la mise en plan. Vous pouvez utiliser cette option avec toutes ou une partie des vues sélectionnées pour limiter le nombre de cotes insérées.
|
|
Nbre d'occurrences/révolutions. Insère la valeur entière pour le Nombre d'occurrences dans une répétition.
|

|
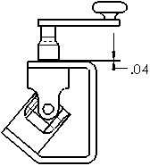
Coupes de l'Assistance pour le perçage et Emplacements de l'Assistance pour le perçage. Insèrent les cotes relatives à l'esquisse de la coupe transversale des perçages créés à l'aide de l'Assistance pour le perçage.
|

|
Symbole pour le perçage. Insère des annotations dans les symboles des fonctions de l'Assistance pour le perçage.
|

|
Eliminer les doublons. Insère les objets de modèle uniques seulement; les objets en double ne sont pas insérés.
Annotations
Tout sélectionner. Insère les objets de modèle suivants s'ils existent. Sinon, vous devez sélectionner les objets souhaités individuellement.
Notes
Etat de surface
Tolérances géométriques
Références
Cibles de référence
Symboles de soudure
Aspect soudure
Traitement des extrémités
Représentation de filetage (mises en plan d'assemblage seulement)
Géométrie de référence
Tout sélectionner. Insère les objets de modèle suivants s'ils existent. Sinon, vous devez sélectionner les objets souhaités individuellement.
Plans
Axes
Origines
Points
Surfaces
Courbes
Points de routage
Options
Inclure les objets des fonctions cachées. Insère les objets des fonctions cachées. Désactivez cette option pour éviter l'insertion d'annotations appartenant à des objets de modèle cachés. La performance est plus lente lorsque les objets de modèle cachés sont filtrés.
Utiliser le placement des cotes dans l'esquisse. Insère les cotes de la pièce aux mêmes endroits dans la mise en plan.
Calque 
Insère les objets du modèle dans le calque de mise en plan spécifié.