Déplacer et copier des cotes
Une fois que les cotes sont affichées dans une mise en plan, vous pouvez les déplacer à l'intérieur d'une vue ou vers une autre vue. Lorsque vous faites glisser une cote d'un endroit à un autre, elle s'attache à nouveau au modèle, comme approprié. Vous pouvez seulement déplacer ou copier des cotes vers une vue où l'orientation est appropriée à la cotation.
|
|
-
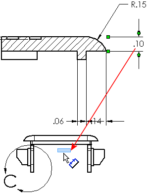
Pour passer une cote à une autre fonction de la même taille à l'intérieur de la vue, sélectionnez la cote, puis faites glisser la pointe de flèche et déposez-la sur une autre arête. Cette méthode fonctionne avec les cotes radiales, de diamètre et de chanfrein uniquement.
|

|
-
Pour déplacer des cotes d'une vue à une autre, faites-les glisser en maintenant la touche Maj enfoncée.
-
Pour copier des cotes d'une vue à une autre, faites-les glisser en maintenant la touche Ctrl enfoncée. Utilisez cette méthode pour créer plusieurs cotes pilotantes.
|

|
|
|
|

|
Rubriques connexes