目次を表示しない

DimXpert データム(DimXpert Datum)

DimXpert データム ツールをデータムフィーチャーを定義するために使用します。ツールはこれらのフィーチャータイプをサポートします:

  • ボス

  • 円筒

  • 切欠

  • 飛行機

  • 単一穴

  • スロット

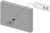
データムフィーチャー記号を適用するには:

  1. データム (Datum)(DimXpert ツールバー)をクリックするかツール(Tools)、DimXpertデータム(Datum記号)を選択します。

  2. データムフィーチャーの面を選択して、データム記号として配置するためにグラフィックス領域をクリックします。

もし選択された面が1つ以上のフィーチャータイプを定義するために使用できるなら、フィーチャー セレクター(feature selector)を必要とされるフィーチャーを選択するために使ってください。

  1. をクリックします。

また、データム幾何公差添付オプションを設定することもできます。

PropertyManager オプション

ほとんどのDimXpert データム フィーチャー PropertyManager オプションは、非-DimXpert データム フィーチャーPropertyManagerと同じです。違いを下記に示します。

ラベル設定(Label Settings)

データムを適用、または編集しているとき、データム ラベルを入力し、引出線の種類を割り当てます。

ツール(Tools)、オプション(Options)、ドキュメント プロパティ(Document Properties)、設計規格(Drafting Standard)、アノテートアイテム(Annotations)、データム記号(Datum features)で開始ラベルを指定します。

データムラベルを入力するとき、入力された値がアクティブな図面規格のシンタックスであるかがチェックされます。例:

  • 数値を入力すると、すべての規格で警告メッセージを表示する。

  • ANSIのとき、IO、または Qを入力すると、警告メッセージを表示する。

  • ISOのとき、AA を入力すると警告メッセージを表示する。

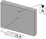
引出線

  • サーフェス(Surface) :データム三角形をフィーチャーのサーフェスに添付します。

 

  • 方向指定引出線(Directed Leader):データム三角形を方向指定引出線に添付します。

 

  • 寸法(Dimension) :データム三角形を寸法またはフィーチャー コントロール枠に添付します。

bsp;

  • 幾何公差(Gtol) :データム三角形をフィーチャー コントロール枠に添付します。

 

フィーチャーによるデータム例

ボス

 

 

円筒

 

 

切欠

 

 

飛行機

 

 

単一穴

 

 

スロット

 

 



トピックについてフィードバックを送信

ヘルプに関してフィードバックを送信することができます。しかし、ドキュメンテーション グループはテクニカル サポートに関する質問に答えることはできません。 テクニカル サポートに関する情報はここをクリックしてください

* 必要項目

 
*電子メール:  
件名:   トピックのフィードバック
ページ:   DimXpert データム(DimXpert Datum)
*コメント:  
*   プライバシー ポリシーを読み、個人情報が Dassault Systèmes によって使用されることに同意します。

トピックの印刷

印刷するコンテンツの範囲を選択:

x

Internet Explorer 7 より古いブラウザ バージョンが検知されました。 表示を最適化するにはInternet Explorer 7 以上のブラウザ バージョンにアップグレードしてください。

 今後このメッセージを表示しない
x

Web ヘルプ コンテンツ バージョン: SOLIDWORKS 2012 SP05

SOLIDWORKS で Web ヘルプを無効にして、ローカル ヘルプを使用するには、ヘルプ > SOLIDWORKS Web ヘルプ使用 をクリックしてください。

Web ヘルプのインタフェースや検索機能に関する問題は、お客様のサポート担当者までご連絡ください。各トピック ページの「トピックについてフィードバックする」リンクを使用し、各ヘルプ トピックについてフィードバックを送信することもできます。