Menedżer właściwości PropertyManager Elementy modelu
Podczas wstawiania elementów modelu do rysunku, należy określić poniższe właściwości.
Źródło/Miejsce przeznaczenia
Źródło
Importuj elementy do wszystkich widoków. Wstawia elementy modelu do wszystkich widoków rysunku na arkuszu. Kiedy opcja jest wyczyszczona, należy wybrać widoki rysunku, do których chcemy importować elementy modelu.
Widok(i) docelowy. Wyszczególnia widoki rysunku, w których zostaną wstawione elementy modelu. Opcja ta jest dostępna kiedy wyczyścimy Importuj elementy do wszystkich widoków.
Wymiary
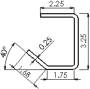
Zaznaczone dla rysunku
|
|
Nie zaznaczone dla rysunku. Można użyć tej opcji ze wszystkimi lub wybranymi widokami, aby ograniczyć wstawione wymiary.
|
|
Licznik wystąpień/obrotów. Wstawia wartość liczby całkowitej dla Liczby wystąpień w szyku.
|

|
Profile z kreatora otworów i Lokalizacje z kreatora otworów. Wstawia wymiary szkicu przekroju poprzecznego dla otworów utworzonych za pomocą Kreatora otworów.
|

|
Objaśnienie otworu. Wstawia adnotacje objaśnienia otworu do operacji z kreatora otworów.
|

|
Eliminuj duplikaty. Wstawia tylko unikatowe elementy modelów. Duplikaty nie są wstawiane.
Adnotacje
Wybierz wszystkie. Wstawia poniższe elementy modelu, jeżeli istnieją. W przeciwnym razie, należy wybrać indywidualne elementy według potrzeb.
Notatki
Wykończenie powierzchni
Tolerancje położenia i kształtu
Bazy pomiarowe
Pola odniesienia
Symbole spoiny
Oznaczenie lica spoiny
Wykończenie
Oznaczenie gwintu (tylko rysunki złożenia)
Geometria odniesienia
Wybierz wszystkie. Wstawia poniższe elementy modelu, jeżeli istnieją. W przeciwnym razie, należy wybrać indywidualne elementy według potrzeb.
Płaszczyzny
Osie
Początki układów współrzędnych
Punkty
Powierzchnie
Krzywe
Punkty wyznaczania trasy
Opcje
Uwzględnij elementy z ukrytych operacji. Wstawia elementy modelu dla ukrytych operacji. Aby uniemożliwić wstawianie adnotacji należących do ukrytych elementów modelu, należy usunąć zaznaczenie tej opcji. Filtrowanie ukrytych elementów modelu zmniejsza wydajność systemu.
Użyj umieszczania wymiarów w szkicu. Wstawia wymiary modelu z części w tej samej lokalizacji na rysunku.
Warstwa 
Wstawia elementy modelu do określonej warstwy rysunku.