Expand ВведениеВведение
Expand АдминистрированиеАдминистрирование
Expand Интерфейс пользователяИнтерфейс пользователя
Expand Основные принципы SolidWorksОсновные принципы SolidWorks
Expand Переход из  2D в 3DПереход из 2D в 3D
Expand СборкиСборки
Expand CircuitWorksCircuitWorks
Expand КонфигурацииКонфигурации
Expand SolidWorks CostingSolidWorks Costing
Expand Design CheckerDesign Checker
Expand Исследования проектирования в SolidWorksИсследования проектирования в SolidWorks
Collapse Чертежи и оформлениеЧертежи и оформление
Expand Оформление - ОбзорОформление - Обзор
Collapse AnnotationsAnnotations
Примечания - Обзор
Параметры примечаний - Обзор
Выноски примечаний
Отображение видов примечаний
Виды примечаний - Изменение ориентации
Виды примечаний - Автоматическая вставка
Множественные примечания
Выравнивание примечаний
Группировка примечаний
Вставка трехмерных примечаний
Проверка орфографии
Множественные изогнутые линии указателей
Expand ПозицииПозиции
Expand Магнитные линииМагнитные линии
Collapse Указатели центраУказатели центра
Оформление прорезей в эскизе
Задание указателей центра прорезей при создании вида
Примечания осевых линий
Expand Обозначения отверстийОбозначения отверстий
Условные обозначения резьбы
Обозначение шероховатости поверхности
Обозначения базовой поверхности
Места, определяющие базу
Геометрические допуски
Обозначения штифта
Expand Обозначение сварного шваОбозначение сварного шва
Штриховка
Блоки
Гусеничные
Обработка торцов
Expand Редактор формул в таблицеРедактор формул в таблице
Вставка справочной геометрии в чертежи
Expand ЗаметкиЗаметки
Свойства списка вырезов
Использование инструмента «Копировать формат»
Expand ТаблицыТаблицы
Expand СпецификацияСпецификация
Expand Строки и столбцы таблицыСтроки и столбцы таблицы
Добавление текста обозначения в ячейки спецификации или таблицы
Расширение таблиц
Expand Уравнения в таблицахУравнения в таблицах
Expand Чертежные стандартыЧертежные стандарты
Expand Настройки печатиНастройки печати
Expand ЧертежиЧертежи
Expand DFMXpressDFMXpress
Expand DriveWorksXpressDriveWorksXpress
Expand FloXpressFloXpress
Expand Импорт и экспортИмпорт и экспорт
Expand Крупномасштабный проектКрупномасштабный проект
Expand Отображение моделиОтображение модели
Expand Проектирование литейной формыПроектирование литейной формы
Expand Исследования движенияИсследования движения
Expand Детали и элементыДетали и элементы
Expand МаршрутМаршрут
Expand Листовой металлЛистовой металл
Expand SimulationSimulation
Expand SimulationXpressSimulationXpress
Expand ЭскизЭскиз
Expand Продукты SustainabilityПродукты Sustainability
Expand SolidWorks UtilitiesSolidWorks Utilities
Expand ОтклоненияОтклонения
Expand ToolboxToolbox
Expand Сварные деталиСварные детали
Expand Workgroup PDMWorkgroup PDM
Expand Устранение неполадокУстранение неполадок
Expand ГлоссарийГлоссарий
Скрыть содержание

Установка параметров указателей центра

Чтобы указать параметры для указателей центра:

  1. Выберите Параметры Tool_Options_Standard.gif и Осевые линии/Указатели центра на вкладке Свойства документа.
  2. В разделе Указатели центра:
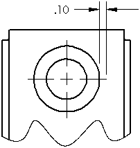
    1. Введите нужное значение для параметра Размер. Размер указывает длину, на которую указатель центра продлен за кромку модели, и размер символа в центре.
      cline_cmark_size.gif
    2. Выберите или снимите флажки Удлиненные линии и Шрифт осевой линии
  3. В поле Указатели центра прорези выберите Выровнять по прорези или Выровнять по листу и выберите параметр расположения указателя центра прорези. Эти настройки определяют способ создания изогнутых и прямых прорезей.
  4. Выберите параметр Оформление на вкладке Свойства документа. В окне Авто вставить при создании вида выберите или снимите флажок для следующих элементов:
    • Указатели центра-отверстия-деталь
    • Указатели центра-скругления-деталь
    • Указатели центра-прорези-деталь
    • Указатели центра-отверстия-сборка
    • Указатели центра-скругления-сборка
    • Указатели центра-прорези-сборка

    При выборе указатели центра будут автоматически вставляться во все соответствующие окружности, дуги или скругления в новых чертежных видах.

  5. Нажмите кнопку ОК.


Оставьте отзыв об этом разделе

SOLIDWORKS благодарит Вас за отзыв по поводу представления, точности и полноты документации. Воспользуйтесь формой ниже, чтобы отправить свои комментарии и предложения о данном разделе справки в Отдел документации. Отдел документации не предоставляет ответы на вопросы по технической поддержке. Нажмите здесь для получения информации о технической поддержке.

* Обязательно

 
*Электронная почта:  
Тема:   Отзывы по поводу разделов Справки
Страница:   Установка параметров указателей центра
*Отзыв:  
*   Я подтверждаю, что прочитал(а) и принимаю положения политики конфиденциальности, в соответствии с которыми Dassault Systèmes будет использовать мои персональные данные.

Печать разделов

Выберите содержимое для печати:

x

Вы используете более раннюю версию браузера, чем Internet Explorer 7. Для оптимизации отображения рекомендуется обновить Ваш браузер до версии Internet Explorer 7 или новее.

 Больше не отображать это сообщение
x

Версия содержимого веб-справки: SOLIDWORKS 2012 SP05

Чтобы отключить веб-справку в программе SOLIDWORKS и использовать локальную версию справки, нажмите Справка > Использовать веб-справку по SOLIDWORKS .

По проблемам, связанным с интерфейсом и поиском по веб-справке, обращайтесь к местному представителю службы поддержки. Чтобы оставить отзыв по отдельным темам справки, воспользуйтесь ссылкой "Отзыв об этом разделе" на странице нужного раздела.