База DimXpert
Используйте инструмент DimXpert База
для определения элементов базы. Инструмент поддерживает следующие элементы:
-
Бобышка
-
Цилиндр
-
Канавка
-
Самолет
-
Простое отверстие
-
Прорезь
-
Ширина
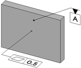
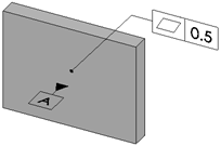
Чтобы применить символ элемента базы:
-
Выберите База
(панель инструментов DimXpert) или Инструменты, DimXpert, База.
-
Выберите грань элемента базы и нажмите в графической области для размещения символа элемента базы.
Если выбранную грань можно использовать для определения нескольких элементов, для выбора необходимого элемента используйте панель выбора элементов.
-
Щелкните
.
Можно также задать параметры базового прикрепления геометрических допусков.
Параметры PropertyManager
Большинство параметров базовой поверхности PropertyManager в DimXpert аналогичны параметрам базовой поверхности PropertyManager, не принадлежащим DimXpert. Их различия перечислены ниже.
Настройки метки
При применении или редактировании базы введите Метка базы и назначьте тип выноски.
Укажите начальную метку в разделе Инструменты, Параметры, Свойства документа, Чертежный стандарт, Примечания, Базы.
При вводе меток базы проверяется синтаксис введенных значений для стандарта активного чертежа. Например:
-
Ввод цифры приводит к появлению предупреждающего сообщения для всех стандартов.
-
При вводе I, O или Q появляется предупреждающее сообщение (в стандарте ANSI).
-
Ввод AA приводит к появлению предупреждающего сообщения для стандарта ISO.
Выноска
Примеры элементов базы
Бобышка
|

|
|
|
Цилиндр
|

|
|
|
Канавка
|

|
|
|
Самолет
|

|
|
|
Простое отверстие
|

|
|
|
Прорезь
|

|
|
|
Ширина
|

|