Referencia de DimXpert
Utilice la herramienta Referencia
de DimXpert para definir indicaciones de referencia. La herramienta admite estos tipos de indicaciones:
-
Saliente
-
Cilindro
-
Muesca
-
Plano
-
Taladro sencillo
-
Ranura
-
Anchura
Para aplicar un símbolo de operación de referencia:
-
Haga clic en Referencia
(barra de herramientas DimXpert) o en Herramientas, DimXpert, Referencia.
-
Seleccione la cara de la operación de referencia y haga clic en la zona de gráficos para colocar su correspondiente símbolo.
Si la cara seleccionada puede utilizarse para definir más de un tipo de operación, utilice el selector de operaciones para elegir la operación deseada.
-
Haga clic en
.
También puede fijar opciones de unión de tolerancia geométrica de referencia.
Opciones del PropertyManager
La mayoría de las opciones del PropertyManager Símbolo de indicación de referencia de DimXpert son iguales a las opciones de un PropertyManager Referencia no perteneciente a DimXpert. Las diferencias se enumeran a continuación.
Configuración de etiqueta
Al aplicar o editar una referencia, introduzca una Etiqueta de referencia y asigne un tipo de línea indicativa.
Especifique la etiqueta inicial en Herramientas, Opciones, Propiedades de documento, Estándar de dibujo, Anotaciones, Referencias.
Al introducir etiquetas de referencia, se comprueba la sintaxis en las entradas según el estándar de dibujo activo. Por ejemplo:
-
La especificación de un valor numérico genera un mensaje de advertencia para todos los estándares.
-
La especificación de I, O o Q genera un mensaje de advertencia en el estándar ANSI.
-
La especificación de AA genera un mensaje de advertencia en el estándar ISO.
Línea indicativa
Ejemplos de referencias por operación
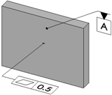
Saliente
|

|
|
|
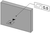
Cilindro
|

|
|
|
Muesca
|

|
|
|
Plano
|

|
|
|
Taladro sencillo
|

|
|
|
Ranura
|

|
|
|
Anchura
|

|