Expand ВведениеВведение
Expand АдминистрацияАдминистрация
Expand Интерфейс пользователяИнтерфейс пользователя
Expand Основные принципы SolidWorksОсновные принципы SolidWorks
Expand Переход из  2D в 3DПереход из 2D в 3D
Expand СборкиСборки
Expand CircuitWorksCircuitWorks
Expand КонфигурацииКонфигурации
Expand SolidWorks CostingSolidWorks Costing
Expand Design CheckerDesign Checker
Expand Исследования проектирования в SolidWorksИсследования проектирования в SolidWorks
Collapse Чертежи и оформлениеЧертежи и оформление
Оформление - Обзор
Настройка параметров оформления
Элементы модели
PropertyManager Элементы модели
Expand Элементы рецензирования SolidWorks eDrawingsЭлементы рецензирования SolidWorks eDrawings
Expand СтильСтиль
Добавить или обновить стиль
Expand ПримечанияПримечания
Expand ТаблицыТаблицы
Expand СпецификацияСпецификация
Expand Чертежные стандартыЧертежные стандарты
Expand Настройки печатиНастройки печати
Collapse ЧертежиЧертежи
Expand Чертежи - ВведениеЧертежи - Введение
Expand Типы документов чертежейТипы документов чертежей
Expand Стандартные чертежные видыСтандартные чертежные виды
Expand Производные чертежные видыПроизводные чертежные виды
PropertyManager Множественные виды
PropertyManager "Преобразовать вид в эскиз"
Expand Отображение и выравнивание чертежного видаОтображение и выравнивание чертежного вида
DrawCompare (Сравнение чертежей)
Статистика чертежа
Распечатка чертежей
Отправить сообщение
Expand Управление блоками заголовковУправление блоками заголовков
Collapse Размеры в чертежахРазмеры в чертежах
Expand DFMXpressDFMXpress
Expand DriveWorksXpressDriveWorksXpress
Expand FloXpressFloXpress
Expand Импорт и экспортИмпорт и экспорт
Expand Отображение моделиОтображение модели
Expand Проектирование литейной формыПроектирование литейной формы
Expand Исследования движенияИсследования движения
Expand Детали и элементыДетали и элементы
Expand МаршрутМаршрут
Expand Листовой металлЛистовой металл
Expand SimulationSimulation
Expand SimulationXpressSimulationXpress
Expand Создание эскизаСоздание эскиза
Expand Продукты Sustainability Продукты Sustainability
Expand SolidWorks UtilitiesSolidWorks Utilities
Expand ОтклоненияОтклонения
Expand TolAnalystTolAnalyst
Expand ToolboxToolbox
Expand Сварные деталиСварные детали
Expand Workgroup PDMWorkgroup PDM
Expand Устранение неполадокУстранение неполадок
Глоссарий
Скрыть содержание

Перемещение и копирование размеров

После отображения размеров в чертеже их можно перемещать как внутри вида, так и в другой вид. При перетаскивании размера из одного места в другое, он прикрепляется к модели в нужном месте. Перемещать или копировать размер можно только в тот вид, ориентация которого соответствует этому размеру.

Видео: Перемещение и копирование размеров

Чтобы переместить размер в вид, выполните следующие действия.

Перетащите размер в новое положение.  

Чтобы переключить размер на другой элемент похожего размера в виде, выполните следующие действия.

Выберите размер и перетащите и разместите маркер стрелки на другую кромку.

Это метод работает для радиальных размеров, диаметров и размеров фасок.

switch_same_sized_features_01.gif

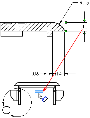
Чтобы переместить размеры из одного вида в другой, выполните следующие действия.

Во время перемещения размеров в другой вид держите нажатой клавишу Shift. move_copy_dims.gif

Чтобы скопировать размеры из одного вида в другой, выполните следующие действия.

Во время перемещения размеров в другой вид держите нажатой клавишу Ctrl.

Используйте это метод для создания множественных управляющих размеров.

Чтобы переместить или скопировать несколько размеров за раз, выполните следующие действия.

Во время выбора удерживайте нажатой клавишу Ctrl.  

Чтобы повернуть размер, выполните следующие действия.

Потащите регулятор, расположенный наиболее близко к тексту размера.

Размер вращается в небольших интервалах.

rotate_dimension.gif

Управление выносками размеров для элементов одинакового размера

В чертежном виде с элементами одинакового размера можно перемещать между этими элементами выноски для радиальных размеров, размеров диаметра или фаски или выноски условных обозначений отверстий.

Переместить конечные точки выноски размера или условного обозначения отверстия с одного элемента на другой можно путем перетаскивания.



Оставьте отзыв об этом разделе

SOLIDWORKS благодарит Вас за отзыв по поводу представления, точности и полноты документации. Воспользуйтесь формой ниже, чтобы отправить свои комментарии и предложения о данном разделе справки в Отдел документации. Отдел документации не предоставляет ответы на вопросы по технической поддержке. Нажмите здесь для получения информации о технической поддержке.

* Обязательно

 
*Электронная почта:  
Тема:   Отзывы по поводу разделов Справки
Страница:   Перемещение и копирование размеров
*Отзыв:  
*   Я подтверждаю, что прочитал(а) и принимаю положения политики конфиденциальности, в соответствии с которыми Dassault Systèmes будет использовать мои персональные данные.

Печать разделов

Выберите содержимое для печати:

x

Вы используете более раннюю версию браузера, чем Internet Explorer 7. Для оптимизации отображения рекомендуется обновить Ваш браузер до версии Internet Explorer 7 или новее.

 Больше не отображать это сообщение
x

Версия содержимого веб-справки: SOLIDWORKS 2013 SP05

Чтобы отключить веб-справку в программе SOLIDWORKS и использовать локальную версию справки, нажмите Справка > Использовать веб-справку по SOLIDWORKS .

По проблемам, связанным с интерфейсом и поиском по веб-справке, обращайтесь к местному представителю службы поддержки. Чтобы оставить отзыв по отдельным темам справки, воспользуйтесь ссылкой "Отзыв об этом разделе" на странице нужного раздела.