Expand GirişGiriş
Expand YönetimYönetim
Expand Kullanıcı ArayüzüKullanıcı Arayüzü
Expand SolidWorks TemelleriSolidWorks Temelleri
Expand 2B'den 3B'ye geçiş2B'den 3B'ye geçiş
Expand MontajlarMontajlar
Expand CircuitWorksCircuitWorks
Expand KonfigürasyonlarKonfigürasyonlar
Expand SolidWorks CostingSolidWorks Costing
Expand Design CheckerDesign Checker
Expand SolidWorks'te Tasarım EtütleriSolidWorks'te Tasarım Etütleri
Collapse Detaylandırma ve Teknik ResimlerDetaylandırma ve Teknik Resimler
Detaylamaya Genel Bakış
Detaylandırma Seçeneklerini Ayarlama
Model Öğeleri
Model Öğeleri PropertyManager'ı
Expand SolidWorks eDrawings İşaretlemeleriSolidWorks eDrawings İşaretlemeleri
Expand StilStil
Stil Ekleme veya Güncelleme
Expand DetaylandırmalarDetaylandırmalar
Expand TablolarTablolar
Expand Malzeme Listesi (BOM)Malzeme Listesi (BOM)
Expand Draft StandartlarıDraft Standartları
Expand Yazdırma AyarlarıYazdırma Ayarları
Collapse Teknik ResimlerTeknik Resimler
Expand Teknik Resimlere BaşlangıçTeknik Resimlere Başlangıç
Expand Teknik Resim Belge TipleriTeknik Resim Belge Tipleri
Expand Standart Teknik Resim GörünümleriStandart Teknik Resim Görünümleri
Expand Türetilmiş Teknik Resim GörünümleriTüretilmiş Teknik Resim Görünümleri
Çoklu Görünüm PropertyManager'ı
Görünümü Çizime Dönüştür PropertyManager'ı
Expand Teknik Resim Görünümü Hizalaması ve GörüntüsüTeknik Resim Görünümü Hizalaması ve Görüntüsü
DrawCompare
Teknik Resim İstatistikleri
Teknik Resimleri Yazdırma
Posta Gönder
Expand Başlık Bloğu YönetimiBaşlık Bloğu Yönetimi
Collapse Teknik Resimlerde ÖlçümlendirmelerTeknik Resimlerde Ölçümlendirmeler
Expand DFMXpressDFMXpress
Expand DriveWorksXpressDriveWorksXpress
Expand FloXpressFloXpress
Expand Al ve VerAl ve Ver
Expand Model GörünümüModel Görünümü
Expand Kalıp TasarımıKalıp Tasarımı
Expand Hareket EtütleriHareket Etütleri
Expand Parçalar ve UnsurlarParçalar ve Unsurlar
Expand TesisatTesisat
Expand Sac LevhaSac Levha
Expand SimülasyonSimülasyon
Expand SimulationXpressSimulationXpress
Expand ÇizmeÇizme
Expand Sustainability ÜrünleriSustainability Ürünleri
Expand SolidWorks UtilitiesSolidWorks Utilities
Expand ToleranslamakToleranslamak
Expand TolAnalystTolAnalyst
Expand ToolboxToolbox
Expand Kaynaklı MontajlarKaynaklı Montajlar
Expand Workgroup PDMWorkgroup PDM
Expand Sorun GidermeSorun Giderme
Terimler
İçindekiler'i Gizle

Ölçümlendirme PropertyManager'ı

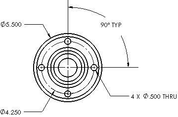
Bir teknik resmi akıllı veya DimXpert ölçümlendirmesiyle ölçümlendirmenize imkan sağlar.

Ölçümlendirme Yardım Araçları

PM_smart_dimensioning.gif Akıllı ölçümlendirme Akıllı Ölçümlendirme Tool_Smart_Dimensions_Relations.gif aracıyla ölçümlendirme oluşturmanıza olanak sağlar.
PM_dimxpert_rapid_dim_manip.gif Hızlı ölçümlendirme Hızlı ölçümlendirme manipülatörünü etkinleştirmenize veya devre dışı bırakmanıza imkan sağlar. Etkinleştirmek için seçin, devre dışı bırakmak için işaretini kaldırın. Bu ayar diğer oturumlarda da korunur.
PM_dimXpert.gif DimXpert Üretim unsurlarını (çoğaltmalar, yuvalar, cepler, radyuslar vb.) tam tanımlamak ve ölçümlendirmeleri yerleştirmek için ölçümlendirme uygulamanıza imkan sağlar.

Stil

Stil

Çoğaltma Düzeni

Seçilen ölçümlendirme düzenini çoğaltmalara uygular.

PM_polar_dimensioning.gif Polar ölçümlendirme Bir bilgi ve bazen açısal konumlandırma ölçümlendirmesinden oluşan bir düzen oluşturur. Oluşturulan ölçümlendirmeler çapsal, yarıçaplı ve açısaldır.
dimxpert_polar.gif
PM_linear_dimensioning.gif Doğrusal ölçümlendirme Çoğaltma için doğrusal bir ölçümlendirme oluşturur.
Polar ve doğrusal ölçümlendirmeler için örnek sayısı yalnızca SolidWorks yazılımında oluşturulan çoğaltmalar için desteklenir.

Ölçümlendirme Düzeni

Seçili ölçümlendirme düzenini, TabanPM_baseline_dimensioning.gif veya Zincir'i PM_chain_dimensioning.gif üretim unsurlarına ve konumlandırma ölçümlendirmelerine uygular.

Datum

Tepe noktasına/delik merkezine göre Üretim unsurlarını ve konumlandırma ölçümlendirmelerini grafik alanında seçtiğiniz objeden ölçer. Tepe noktası gerçek bir tepe noktası veya bir dairenin merkez noktası olabilir.
Seçime göre Üretim unsurlarını ve konumlandırma ölçümlendirmelerini bir sanal keskin oluşturarak seçtiğiniz X ve Y kenarlarından ölçer. Döndürmek için orijini sürükleyebilir veya bir Dönmeaçısı ayarlayabilirsiniz. X ve Y kenarları kesişirse Tepe Noktasına Göre seçeneğini kullanmanız gerekir.

Katman PM_Layer.gif

Adlandırılmış katmanlar bulunan teknik resimlerde bir katman seçin.



Bu başlık hakkında geribildirimde bulunun

SOLIDWORKS; dokümantasyonun sunumu, doğruluğu ve bütünlüğü hakkında geribildiriminizi almaktan memnuniyet duyar. Bu başlık ile ilgili yorum ve önerilerinizi, aşağıdaki formu kullanarak doğrudan dokümantasyon takımımıza yollayın. Dokümantasyon takımı teknik destek sorularına yanıt veremez. Teknik destek ile ilgili bilgiler için buraya tıklayın.

* Gerekli

 
*Email:  
Konu:   Yardım Başlıkları Hakkında Geribildirim
Sayfa:   Ölçümlendirme PropertyManager'ı
*Yorum:  
*   Kişisel Bilgilerimin Dassault Systèmes tarafından kullanılacağının belirtildiği gizlilik politikasını okuduğumu ve kabul ettiğimi onaylıyorum

Yazdırma Başlığı

Yazdırılacak içeriğin kapsamını seçin:

x

Internet Explorer 7'den daha eski bir tarayıcı sürümünü kullandığınızı tespit ettik. Optimize edilmiş görünüm için tarayıcınızı Internet Explorer 7 veya daha yenisine yükseltmenizi öneririz.

 Bu mesajı bir daha asla gösterme
x

Web Yardım İçerik Sürümü: SOLIDWORKS 2013 SP05

SOLIDWORKS içindeki Web yardımını devre dışı bırakmak ve onun yerine yerel yardımı kullanmak için Yardım > SOLIDWORKS Web Yardımını Kullan öğelerine tıklayın.

Web yardımı arabirimi ve araması ile ilgili karşılaştığınız sorunları lütfen yerel destek temsilcinize bildirin. Yardım başlıkları hakkında ayrı ayrı geri bildirimde bulunmak için ilgili başlığın sayfasından "Bu başlık hakkında geribildirim" bağlantısına tıklayın.