Expand 简介简介
Expand 管理管理
Expand 用户界面用户界面
Collapse SolidWorks 基础知识SolidWorks 基础知识
Expand 从 2D 移动到 3D从 2D 移动到 3D
Expand 装配体装配体
Expand CircuitWorksCircuitWorks
Expand 配置配置
Expand SolidWorks CostingSolidWorks Costing
Expand Design CheckerDesign Checker
Expand SolidWorks 中的设计算例SolidWorks 中的设计算例
Expand 出详图和工程图出详图和工程图
Expand DFMXpressDFMXpress
Expand DriveWorksXpressDriveWorksXpress
Expand FloXpressFloXpress
Expand 导入和导出导入和导出
Expand 模型显示模型显示
Expand 模具设计模具设计
Expand 运动算例运动算例
Expand 零件和特征零件和特征
Expand 步路步路
Expand 钣金钣金
Expand 模拟模拟
Expand SimulationXpressSimulationXpress
Expand 草图绘制草图绘制
Expand Sustainability 产品Sustainability 产品
Expand SolidWorks 实用程序SolidWorks 实用程序
Expand 公差公差
Expand TolAnalystTolAnalyst
Expand 工具箱工具箱
Expand 焊件焊件
Expand 工作组 PDM工作组 PDM
Expand 疑难解答疑难解答
词汇表
隐藏目录

文档属性 - 零件序号

可以指定零件序号注解的文档层绘图设定。您可在 PropertyManager 中覆盖这些设定。适用于所有文档类型。

要打开此页面,请在打开工程图后,单击选项 (标准工具栏),选择文档属性选项卡,然后选择注解 > 零件序号

基本零件序号标准

基本零件序号标准  
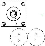
上方 为圆形分割线零件序号的上方显示的内容或为所有其它零件序号类型选择:
  • 文本
  • 条目号
  • 数量
  • 自定义属性
适用于单一和层叠零件序号。
为圆形分割线零件序号下方显示的内容选择:
  • 文本
  • 条目号
  • 数量
  • 自定义属性

单零件序号

样式 选择可显示不带边界的零件序号,或者选择零件序号形状。默认为圆形
圆形 三角形
六角形 长方体
菱形 五角形
圆形分割线 旗标 - 五角形
旗标 - 三角形 下划线
方形 方圆形
检查
大小 选取一大小(指定的字符数)、紧密配合(根据文字自动调整)、或者自定义大小(您设定零件序号大小)。

成组的零件序号

样式 选取一零件序号形状。
大小

选取一大小(指定的字符数)、紧密配合(根据文字自动调整)、或者自定义大小(设定零件序号大小)。

自动零件序号布局

选择一个布局:
  • 方形
  • 圆形
  • 上视
方形布局


提供对该主题的反馈

SOLIDWORKS 欢迎您对此文档的外观、准确性及完整性提供反馈。请使用以下表格,将您对该主题的评论和建议直接发送给我们的文档团队。文档团队不能回答技术支持问题。单击此处获取有关技术支持的信息

* 必填

 
*电子邮件:  
主题:   对帮助主题的反馈
页面:   文档属性 - 零件序号
*评论:  
*   本人确认已阅读并且接受 Dassault Systèmes 按照《隐私政策》使用本人的个人数据

打印主题

选择要打印的内容范围:

x

我们检测到您在使用旧于 Internet Explorer 7 的浏览器版本。为优化显示,我们建议您将您的浏览器升级到 Internet Explorer 7 或以上。

 永不再显示此信息
x

Web 帮助内容版本:SOLIDWORKS 2013 SP05

要从 SOLIDWORKS 中禁用 Web 帮助并使用本地帮助,请单击帮助 > 使用 SOLIDWORKS Web 帮助

要报告在 Web 帮助界面和搜索中所遇到的问题,请联系您的当地支持代表。要提供单个帮助主题的反馈,请使用单个主题页面上的“对该主题的反馈”链接。