Expand EinführungEinführung
Expand VerwaltungVerwaltung
Expand BenutzeroberflächeBenutzeroberfläche
Collapse Grundlagen von SolidWorksGrundlagen von SolidWorks
Grundkonzepte
Grundlegende Befehle: Ausschneiden, Kopieren, Einfügen, Rückgängig und Wiederherstellen
Expand Hilfe, Suchen und WebressourcenHilfe, Suchen und Webressourcen
Expand Grundlagen zu DokumentenGrundlagen zu Dokumenten
Collapse SolidWorks OptionenSolidWorks Optionen
Expand AnzeigenAnzeigen
Expand AuswahlAuswahl
Expand DateieigenschaftenDateieigenschaften
Expand Messen-WerkzeugMessen-Werkzeug
Expand SensorenSensoren
Expand GleichungenGleichungen
Expand Branchenspezifische KonstruktionswerkzeugeBranchenspezifische Konstruktionswerkzeuge
Xperts Übersicht
Zusatzanwendungen
SolidWorks Schnellstart
Expand Verknüpfen und Einbetten von ObjektenVerknüpfen und Einbetten von Objekten
Expand Aufzeichnen und Ausführen von MakrosAufzeichnen und Ausführen von Makros
Expand Interoperabilität mit vorherigen VersionenInteroperabilität mit vorherigen Versionen
SolidWorks API
SolidWorks Taskplaner
Expand Umsteigen von 2D auf 3DUmsteigen von 2D auf 3D
Expand BaugruppenBaugruppen
Expand CircuitWorksCircuitWorks
Expand KonfigurationenKonfigurationen
Expand SolidWorks CostingSolidWorks Costing
Expand Design CheckerDesign Checker
Expand Konstruktionsstudien in SolidWorksKonstruktionsstudien in SolidWorks
Expand Detaillierung und ZeichnungenDetaillierung und Zeichnungen
Expand DFMXpressDFMXpress
Expand DriveWorksXpressDriveWorksXpress
Expand FloXpressFloXpress
Expand Importieren und ExportierenImportieren und Exportieren
Expand ModellanzeigeModellanzeige
Expand GussformkonstruktionGussformkonstruktion
Expand BewegungsstudienBewegungsstudien
Expand Teile und FeaturesTeile und Features
Expand LeitungsführungLeitungsführung
Expand BlechBlech
Expand SimulationSimulation
Expand SimulationXpressSimulationXpress
Expand SkizzierenSkizzieren
Expand Sustainability ProdukteSustainability Produkte
Expand SolidWorks UtilitiesSolidWorks Utilities
Expand ToleranzenToleranzen
Expand TolAnalystTolAnalyst
Expand ToolboxToolbox
Expand SchweißkonstruktionenSchweißkonstruktionen
Expand Workgroup PDMWorkgroup PDM
Expand ProblembehebungProblembehebung
Glossar
Inhaltsverzeichnis ausblenden

Dokumenteigenschaften - Stücklistensymbole

Sie können für Stücklistensymbole Zeichnungseinstellungen auf Dokumentebene festlegen. Sie können diese Einstellungen im PropertyManager außer Kraft setzen. Für alle Dokumenttypen verfügbar.

Um diese Seite zu öffnen, klicken Sie mit einer geöffneten Zeichnung auf Optionen (Standard-Symbolleiste), wählen Sie die Registerkarte Dokumenteigenschaften und dann Beschriftungen > Stücklistensymbole aus.

Stücklistensymbol-Basisnorm

Stücklistensymbol-Basisnorm  
Oben Wählen Sie für den oberen Bereich von Stücklistensymbolen des Typs Kreisförmige Trennlinie oder alle anderen Stücklistensymboltypen Folgendes aus:
  • Text
  • Artikelnummer
  • Menge
  • Benutzerdefinierte Eigenschaften
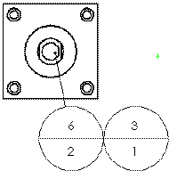
Oben gilt für einzelne und geschichtete Stücklistensymbole.
Unten Wählen Sie für den unteren Bereich von Stücklistensymbolen des Typs Kreisförmige Trennlinie Folgendes aus:
  • Text
  • Artikelnummer
  • Menge
  • Benutzerdefinierte Eigenschaften

Einzelnes Stücklistensymbol

Stil Wählen Sie Keiner aus, um den Stücklistensymboltext ohne Rand anzuzeigen, oder wählen Sie eine Stücklistensymbolform aus. Der Standard ist Rund.
Kreisförmig Dreiecksprofil
Sechseck Box
Raute Fünfeck
Kreisförmige Trennlinie Fahne - Fünfseitig
Fahne - Dreieck Unterstrichen
Quadrat Quadratischer Kreis
Prüfen Kein
Größe Wählen Sie eine Größe aus der Liste aus (eine bestimmte Anzahl von Zeichen): Standard (passt sich automatisch an den Text an) oder Benutzergröße (Sie definieren die Stücklisten-Symbolgröße).

Geschichtete Stücklistensymbole

Stil Wählen Sie eine Stücklistensymbolform aus.
Größe

Wählen Sie eine Größe aus der Liste aus (eine bestimmte Anzahl von Zeichen): Standard (passt sich automatisch an den Text an) oder Benutzergröße (Sie definieren die Stücklisten-Symbolgröße).

Layout autom. Stücklistensymbol

Wählen Sie ein Layout aus:
  • Quadrat
  • Unten
  • Links
  • Kreisförmig
  • Oben
  • Rechts
Quadratisches Layout


Feedback zu diesem Thema geben

SOLIDWORKS ist dankbar für Ihr Feedback zur Präsentation, Genauigkeit und Vollständigkeit der Dokumentation. Verwenden Sie das nachstehende Formular, um Ihre Kommentare und Vorschläge zu diesem Thema direkt an unser Dokumentations-Team zu senden. Das Dokumentations-Team kann keine Fragen für den technischen Support beantworten. Klicken Sie hier für Informationen zum technischen Support.

* Erforderlich

 
*E-Mail:  
Betreff:   Feedback zu Hilfethemen
Seite:   Dokumenteigenschaften - Stücklistensymbole
*Kommentar:  
*   Ich bestätige, dass ich die Datenschutzerklärung, unter der meine personenbezogenen Daten durch Dassault Systèmes verarbeitet werden, gelesen habe und akzeptiere.

Thema drucken

Wählen Sie aus, was gedruckt werden soll:

x

Sie verwenden einen Browser, der älter als Internet Explorer 7 ist. Für eine optimierte Anzeige sollten Sie Ihren Browser auf Internet Explorer 7 oder höher aktualisieren.

 Diese Meldung nicht mehr anzeigen
x

Web-Hilfe Inhaltsversion: SOLIDWORKS 2013 SP05

Um die Web-Hilfe in SOLIDWORKS zu deaktivieren und stattdessen die lokale Hilfe zu verwenden, klicken Sie auf Help > SOLIDWORKS Web-Hilfe verwenden.

Um Probleme mit der Oberfläche und der Suche der Web-Hilfe zu melden, wenden Sie sich an Ihren Support vor Ort. Um Feedback zu einzelnen Hilfethemen zu geben, verwenden Sie den Link “Feedback zu diesem Thema” auf der entsprechenden Themenseite.