Окно PropertyManager Разрез появляется либо при создании в чертеже нового Разреза и нажатия Редактировать эскиз в PropertyManager, либо при выборе существующего Разреза.
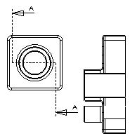
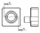
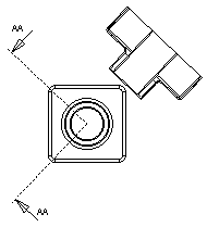
Линия сечения
 |
Реверс направления |
Также можно реверсировать направление разреза путем двойного нажатия на линию разреза.
|
 |
Метка |
Изменение буквы, связанной с линией сечения и разрезом.
|
|
Шрифт |
Чтобы выбрать шрифт для метки линии сечения, отличный от шрифта документа, удалите флажок Шрифт документа и выберите Шрифт. При изменении шрифта для метки линии сечения новый шрифт можно применить для метки разреза.
|
Разрез
Местное сечение |
Создает разрез, ограниченный длиной линии сечения, если линия не проходит через весь вид.
|
Отобразить только разрезанные грани |
Отображает только грани, разрезанные линией сечения.
|
|
Полное сечение

|
Местное сечение

|
Отобразить только разрезанные грани

|
Авто-штриховка |
Для разных компонентов сборки или для разных тел в многотельных и сварных деталях используются разные шаблоны штриховки. Штриховка изменяется в разрезе сборки. |
 |
Отобразить поверхностные тела |
Отображает все тела поверхности в разрезе модели. |
Скрыть выступы разрезающей линии |
 |
Укороченный вид |
 |
Переключение выравнивания |
Нажмите для изменения выравнивания разреза.

 |
Глубина сечения
Установка глубины разреза на указанное расстояние. Данный параметр доступен только для разрезов, у которых линия сечения состоит из единичного сегмента линии.
Разрезы с расстоянием применяются к компонентам, а не элементам.
Чтобы задать расстояние, выполните одно из следующих действий:
- Задайте значение параметру Глубина
.
- Выберите геометрию, например кромку или ось, в родительском виде для параметра Глубина
.
- Перетащите в графической области плоскость сечения розового цвета, чтобы установить глубину разреза. В разрезе отобразятся все компоненты, которые находятся между линией сечения и плоскостью сечения.
Предварительный просмотр |
 |
Импорт примечаний из
Импорт примечаний |
Выберите Импорт примечаний для выбранных типов примечания для импорта из документов детали или сборки ссылки.
Выберите параметры импорта примечаний:
- Примечания проектирования
- Примечания DimXpert
- Включить элементы из скрытых элементов
|
Состояние отображения
Только для сборок. Выберите состояние отображения сборки, которую требуется разместить на чертеже.
Функция состояния отображения "Скрыть/отобразить"

поддерживается для всех стилей отображения. Другие стили отображения (
режим отображения 
,
цвет 
и т. д.) поддерживаются только стилями
Закрасить с кромками 
и
Закрасить 
.
Тип отображения
Использовать родительский |
Отмените выбор этого параметра, чтобы выбрать тип и параметры качества, отличные от родительского вида.
|
Выберите стиль отображения.
Выберите Высокое качество или Черновое качество, чтобы задать качество отображения модели. Этот параметр доступен, только если параметр Качество отображения для новых видов имеет значение Черновое качество. Если выбран параметр Высокое качество, данные параметры больше не отображаются.
Масштаб
Использовать родительский масштаб |
Используется масштаб родительского вида. При изменении масштаба родительского вида масштаб всех дочерних видов, использующих масштаб родительского вида, обновляется. |
Использовать масштаб листа |
Используется масштаб чертежного листа. |
Использовать масштаб пользователя |
Используется заданный пользователем масштаб. Если выбран параметр Настройка, введите масштаб в поле в слудеющем формате: x:x или x/x. Выберите Использовать масштаб шрифта модели, чтобы сохранить геометрию, использованную в видах примечаний деталей. |
Заранее установленные параметры поля Использовать масштаб пользователя зависят от чертежного стандарта.
Тип размера
Размеры в чертежах могут быть следующими:
Реальный |
Точные значения для модели. |
Проекционный |
Двумерные размеры. |
Тип размеров устанавливается тогда, когда вставляется чертежный вид. Тип размера можно просмотреть и изменить в PropertyManager для чертежного вида.
Установлены следующие правила для типов размеров:
- SolidWorks указывает типы размеров Проекционный для стандартных и настраиваемых ортогональных видов и Реальный - для изометрического, диметрического и триметрического видов.
- Если проекционный или вспомогательный вид создаются из другого вида, то для нового вида используется Проекционный тип размеров, даже если для исходного вида использовались типы размеров Реальный.
Условные изображения резьбы
Следующие настройки отменяют параметр Условные изображения резьбы в разделе при наличии условных изображений резьбы на виде чертежа.
Точно |
Отображение точной толщины линий и отсечения в условных изображениях резьбы. Если условные изображения резьбы отображаются только частично, при выборе параметра Высокое качество будет показана только видимая часть (будет точно показано, какие части видимы, а какие нет).
При выборе параметра Высокое качество для отображения условных изображений резьбы замедляется работа системы. Рекомендуется, пока не будет закончено размещение всех примечаний, отменить выбор этого параметра.
|
Черновое качество |
Отображение условных обозначений резьбы с меньшей детализацией. Если условные изображения резьбы отображаются только частично, при выборе параметра Черновое качество будет отображаться весь элемент.
|