Expand IntroducciónIntroducción
Expand AdministraciónAdministración
Expand Interfaz de usuarioInterfaz de usuario
Expand Conceptos básicos de SolidWorksConceptos básicos de SolidWorks
Expand Migrar de 2D a 3DMigrar de 2D a 3D
Expand EnsamblajesEnsamblajes
Expand CircuitWorksCircuitWorks
Expand ConfiguracionesConfiguraciones
Expand SolidWorks CostingSolidWorks Costing
Expand Design CheckerDesign Checker
Expand Estudios de diseño en SolidWorksEstudios de diseño en SolidWorks
Collapse Dibujos y documentaciónDibujos y documentación
Perspectiva general de documentación
Configurar opciones de documentación
Elementos del modelo
PropertyManager Elementos del modelo
Expand Marcas de SolidWorks eDrawingsMarcas de SolidWorks eDrawings
Expand EstiloEstilo
Agregar o actualizar un estilo
Expand AnotacionesAnotaciones
Expand TablasTablas
Expand Lista de materiales (LDM)Lista de materiales (LDM)
Expand Estándares de dibujoEstándares de dibujo
Expand Configuración de impresiónConfiguración de impresión
Collapse DibujosDibujos
Expand DFMXpressDFMXpress
Expand DriveWorksXpressDriveWorksXpress
Expand FloXpressFloXpress
Expand Importación y exportaciónImportación y exportación
Expand Visualización de modeloVisualización de modelo
Expand Diseño de moldesDiseño de moldes
Expand Estudios de movimientoEstudios de movimiento
Expand Piezas y operacionesPiezas y operaciones
Expand RoutingRouting
Expand Chapa metálicaChapa metálica
Expand SolidWorks SimulationSolidWorks Simulation
Expand SimulationXpressSimulationXpress
Expand CroquizadoCroquizado
Expand SustainabilitySustainability
Expand SolidWorks UtilitiesSolidWorks Utilities
Expand ToleranciasTolerancias
Expand TolAnalystTolAnalyst
Expand ToolboxToolbox
Expand Piezas soldadasPiezas soldadas
Expand Workgroup PDMWorkgroup PDM
Expand Solución de problemasSolución de problemas
Glosario
Ocultar tabla de contenido

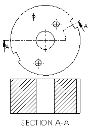
Ejemplos: Vista de sección con equidistancia

Estos ejemplos ilustran la adición de equidistancias a una línea de corte.

Equidistancia de arco

  1. Localice una línea de corte horizontal Cutting-line-Horizontal.png.
    section-arc-offset-1.gif
  2. Agregue una equidistancia de arco sectionxpert-arc-offset.png.
    section-arc-offset-2.gif section-arc-offset-3.gif

    Primer punto en la línea de corte para iniciar la equidistancia de arco

    Segundo punto en la geometría para establecer el ángulo de la equidistancia

  3. Vista de sección final
    section-arc-offset-complete.gif

Equidistancia única

  1. Localice una línea de corte vertical Cutting-line-Vertical.png.
    section-single-offset-1-U.gif
  2. Agregue una equidistancia única sectionxpert-single-offset.png.
    section-single-offset-2-U.gif section-single-offset-3-U.gif

    Primer punto en la línea de corte para iniciar la equidistancia de única

    Segundo punto en la geometría para establecer la profundidad de la equidistancia

  3. Vista de sección final
    section-single-offset-complete-U.gif

Equidistancia de muesca

  1. Localice una línea de corte horizontal Cutting-line-Horizontal.png.
    section-notch-offset-1.gif
  2. Agregue una equidistancia de muesca sectionxpert-notch-offset.png.
    section-notch-offset-2.gif section-notch-offset-3.gif

    Primer punto en la línea de corte para iniciar la equidistancia de muesca

    Segundo punto en la línea de corte para establecer la longitud de la equidistancia

    section-notch-offset-4.gif  

    Tercer punto en la geometría para establecer la profundidad de la equidistancia

     
  3. Vista de sección final
    section-notch-offset-complete.gif


Proporcione comentarios sobre este tema

SOLIDWORKS agradece sus comentarios acerca del formato, la precisión y la rigurosidad de la documentación. Utilice el siguiente formulario para enviar comentarios y sugerencias sobre este tema directamente al equipo de documentación. Nota: el equipo de documentación no puede responder a preguntas técnicas. Haga clic aquí para ver información sobre soporte técnico.

* Obligatorio

 
*Correo electrónico:  
Asunto:   Comentarios sobre los temas de la ayuda
Página:   Ejemplos: Vista de sección con equidistancia
*Comentario:  
*   Por la presente confirmo que he leído y acepto la política de privacidad en virtud de la cual Dassault Systèmes usará mis Datos personales

Imprimir tema

Seleccione el ámbito del contenido que desee imprimir:

x

Hemos detectado que la versión de su explorador es anterior a Internet Explorer 7. Para una visualización óptima, le recomendamos que actualice a Internet Explorer 7 o versión superior.

 No volver a mostrar este mensaje
x

Versión del contenido de la ayuda web: SOLIDWORKS 2013 SP05

Para desactivar la ayuda web desde SOLIDWORKS y utilizar la ayuda local en su lugar, haga clic en Ayuda > Usar la ayuda web de SOLIDWORKS.

Para informar sobre problemas detectados con la interfaz y la función de búsqueda de la ayuda web, póngase en contacto con el representante local de soporte. Si desea proporcionar comentarios sobre temas individuales, utilice el vínculo “Comentarios sobre este tema” en la página del tema en cuestión.