隐藏目录

设置中心符号线选项

为中心符号线设定选项:

  1. 单击选项Tool_Options_Standard.gif,然后在中心线/中心符号线选项卡中选择中心线/中心符号线
  2. 中心符号线下:
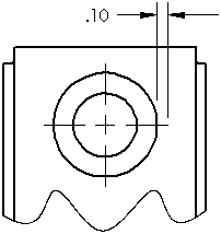
    1. 大小 键入值。 大小 控制中心符号线延伸通过模型边线的长度以及中心的点符号大小。
      cline_cmark_size.gif
    2. 选择或清除 延伸直线中心线型的复选框。
  3. 槽口中心符号线下选择对齐到槽口对齐到图纸,然后选择一个槽口中心符号线位置选项。这些设定决定如何生成直槽口和弯槽口。
  4. 文档属性选项卡中选择出详图。在视图生成时自动插入下选择或消除复选框。
    • 中心符号-孔 - 零件
    • 中心符号线 - 圆角 - 零件
    • 中心符号线 - 槽口 - 零件
    • 中心符号线 - 孔 - 装配体
    • 中心符号线 - 圆角 - 装配体
    • 中心符号线 - 槽口 - 装配体

    当被选择时,中心符号线自动插入到新工程图视图中的所有适当圆、圆弧、及圆角中。

  5. 单击确定


提供对该主题的反馈

SOLIDWORKS 欢迎您对此文档的外观、准确性及完整性提供反馈。请使用以下表格,将您对该主题的评论和建议直接发送给我们的文档团队。文档团队不能回答技术支持问题。单击此处获取有关技术支持的信息

* 必填

 
*电子邮件:  
主题:   对帮助主题的反馈
页面:   设置中心符号线选项
*评论:  
*   本人确认已阅读并且接受 Dassault Systèmes 按照《隐私政策》使用本人的个人数据

打印主题

选择要打印的内容范围:

x

我们检测到您在使用旧于 Internet Explorer 7 的浏览器版本。为优化显示,我们建议您将您的浏览器升级到 Internet Explorer 7 或以上。

 永不再显示此信息
x

Web 帮助内容版本:SOLIDWORKS 2014 SP05

要从 SOLIDWORKS 中禁用 Web 帮助并使用本地帮助,请单击帮助 > 使用 SOLIDWORKS Web 帮助

要报告在 Web 帮助界面和搜索中所遇到的问题,请联系您的当地支持代表。要提供单个帮助主题的反馈,请使用单个主题页面上的“对该主题的反馈”链接。