Expand IntroduçãoIntrodução
Expand AdministraçãoAdministração
Expand Interface do usuárioInterface do usuário
Expand Fundamentos do SolidWorksFundamentos do SolidWorks
Expand Mudando de 2D para 3DMudando de 2D para 3D
Expand MontagensMontagens
Expand CircuitWorksCircuitWorks
Expand ConfiguraçõesConfigurações
Expand SolidWorks CostingSolidWorks Costing
Expand Design CheckerDesign Checker
Expand Estudos de Projeto no SolidWorksEstudos de Projeto no SolidWorks
Collapse Detalhamento e desenhosDetalhamento e desenhos
Visão geral do detalhamento
Definir opções de detalhamento
Itens do modelo
PropertyManager de Itens do modelo
Expand Marcações eDrawingsMarcações eDrawings
Expand EstiloEstilo
Adicionar ou atualizar um estilo .
Expand AnotaçõesAnotações
Expand TabelasTabelas
Expand Lista de materiais (BOM)Lista de materiais (BOM)
Expand Padrões de desenhoPadrões de desenho
Expand Configurações de impressãoConfigurações de impressão
Collapse DesenhosDesenhos
Expand DFMXpressDFMXpress
Expand DriveWorksXpressDriveWorksXpress
Expand FloXpressFloXpress
Expand Importar e exportarImportar e exportar
Expand Exibição de modeloExibição de modelo
Expand Projeto de moldesProjeto de moldes
Expand Estudos de movimentoEstudos de movimento
Expand Peças e recursosPeças e recursos
Expand RotaRota
Expand Chapa metálicaChapa metálica
Expand SimulaçãoSimulação
Expand SimulationXpressSimulationXpress
Expand Geração de esboçoGeração de esboço
Expand Produtos Sustainability Produtos Sustainability
Expand SolidWorks UtilitiesSolidWorks Utilities
Expand TolerancingTolerancing
Expand TolAnalystTolAnalyst
Expand ToolboxToolbox
Expand SoldagensSoldagens
Expand Workgroup PDMWorkgroup PDM
Expand Solução de problemasSolução de problemas
Glossário
Ocultar Sumário

Exemplos: Vista de seção com offset

Este exemplos mostram a adição de offsets a uma linha de corte.

Offset do arco

  1. Localize uma linha de corte horizontal Cutting-line-Horizontal.png.
    section-arc-offset-1.gif
  2. Adicione um offset de arco sectionxpert-arc-offset.png.
    section-arc-offset-2.gif section-arc-offset-3.gif

    Primeiro ponto na linha de corte para iniciar o offset de arco

    Segundo ponto na geometria para definir o ângulo do offset

  3. Vista de seção final
    section-arc-offset-complete.gif

Offset simples

  1. Localize uma linha de corte vertical Cutting-line-Vertical.png.
    section-single-offset-1-U.gif
  2. Adicione um offset único sectionxpert-single-offset.png.
    section-single-offset-2-U.gif section-single-offset-3-U.gif

    Primeiro ponto na linha de corte para iniciar o offset único

    Segundo ponto na geometria para definir a profundidade do offset

  3. Vista de seção final
    section-single-offset-complete-U.gif

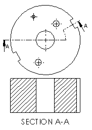
Offset do entalhe

  1. Localize uma linha de corte horizontal Cutting-line-Horizontal.png.
    section-notch-offset-1.gif
  2. Adicione um offset de entalho sectionxpert-notch-offset.png.
    section-notch-offset-2.gif section-notch-offset-3.gif

    Primeiro ponto na linha de corte para iniciar o offset de entalho

    Segundo ponto na linha de corte para definir a extensão do offset.

    section-notch-offset-4.gif  

    Terceiro ponto na geometria para definir a profundidade do offset

     
  3. Vista de seção final
    section-notch-offset-complete.gif


Envie-nos seus comentários sobre este tópico

O SOLIDWORKS agradece seu feedback sobre a apresentação, precisão e nível de detalhe da documentação. Use o formulário abaixo para enviar comentários e sugestões sobre este tópico diretamente à equipe responsável pela documentação. Esta equipe não responde a perguntas de suporte técnico. Clique aqui para ver informações específicas do suporte técnico.

* Obrigatório

 
*E-mail:  
Assunto:   Comentários sobre os tópicos da Ajuda
Página:   Exemplos: Vista de seção com offset
*Comentário:  
*   Eu reconheço que li e aceito, por meio deste, a política de privacidade segundo a qual meus Dados pessoais serão usados pela Dassault Systèmes

Imprimir tópico

Selecione o escopo do conteúdo a imprimir:

x

Foi detectada uma versão de navegador anterior ao Internet Explorer 7. Para uma exibição otimizada, sugerimos a atualização para o Internet Explorer 7 ou posterior.

 Não mostrar essa mensagem novamente
x

Versão do conteúdo de ajuda on-line: SOLIDWORKS 2014 SP05

Para desativar a Ajuda online no SOLIDWORKS e usar a Ajuda local, clique em Ajuda > Usar Ajuda on-line do SOLIDWORKS.

Para relatar problemas encontrados na interface e na pesquisa da Ajuda on-line, consulte seu representante de suporte local. Para fornecer comentários sobre tópicos individuais da Ajuda, use o link “Comentários sobre este tópico” na página do tópico individual.