Use a ferramenta Referenciais do DimXpert para definir recursos referenciais.
Para acessar esta ferramenta:
Clique em Referencial (barra de ferramentas do DimXpert) ou em Ferramentas > DimXpert > Referencial.
Essa ferramenta tem suporte para os seguintes tipos de recurso:
A maioria das opções do PropertyManager de Recurso referencial do DimXpert é idêntica às do PropertyManager de Recurso referencial que não é do DimXpert. As diferenças são descritas abaixo.
Especifique a etiqueta inicial em Ferramentas > Opções > Propriedades do documento > Padrões de desenho > Anotações > Referenciais .
Quando você insere etiquetas de referencial, a sintaxe das entradas é verificada segundo o padrão de desenho ativo. Por exemplo:
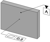
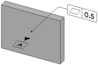
Para aplicar um símbolo de recurso referencial:
Se a face selecionada puder ser usada para definir mais de um tipo de recurso, use o seletor de recursos para escolher o recurso necessário.
Envie-nos seus comentários sobre este tópico
O SOLIDWORKS agradece seu feedback sobre a apresentação, precisão e nível de detalhe da documentação. Use o formulário abaixo para enviar comentários e sugestões sobre este tópico diretamente à equipe responsável pela documentação. Esta equipe não responde a perguntas de suporte técnico. Clique aqui para ver informações específicas do suporte técnico.
* Obrigatório
Obrigado por nos enviar seus comentários. Entraremos em contato se tivermos dúvidas.
Atenciosamente,A equipe de Documentação do SOLIDWORKS
Imprimir tópico
Selecione o escopo do conteúdo a imprimir:
Foi detectada uma versão de navegador anterior ao Internet Explorer 7. Para uma exibição otimizada, sugerimos a atualização para o Internet Explorer 7 ou posterior.
Versão do conteúdo de ajuda on-line: SOLIDWORKS 2014 SP05 Para desativar a Ajuda online no SOLIDWORKS e usar a Ajuda local, clique em Ajuda > Usar Ajuda on-line do SOLIDWORKS. Para relatar problemas encontrados na interface e na pesquisa da Ajuda on-line, consulte seu representante de suporte local. Para fornecer comentários sobre tópicos individuais da Ajuda, use o link “Comentários sobre este tópico” na página do tópico individual.