Este exemplos mostram a adição de offsets a uma linha de corte.
Primeiro ponto na linha de corte para iniciar o offset de arco
Segundo ponto na geometria para definir o ângulo do offset
Primeiro ponto na linha de corte para iniciar o offset único
Segundo ponto na geometria para definir a profundidade do offset
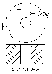
Primeiro ponto na linha de corte para iniciar o offset de entalho
Segundo ponto na linha de corte para definir a extensão do offset.
Terceiro ponto na geometria para definir a profundidade do offset
Envie-nos seus comentários sobre este tópico
O SOLIDWORKS agradece seu feedback sobre a apresentação, precisão e nível de detalhe da documentação. Use o formulário abaixo para enviar comentários e sugestões sobre este tópico diretamente à equipe responsável pela documentação. Esta equipe não responde a perguntas de suporte técnico. Clique aqui para ver informações específicas do suporte técnico.
* Obrigatório
Obrigado por nos enviar seus comentários. Entraremos em contato se tivermos dúvidas.
Atenciosamente,A equipe de Documentação do SOLIDWORKS
Imprimir tópico
Selecione o escopo do conteúdo a imprimir:
Foi detectada uma versão de navegador anterior ao Internet Explorer 7. Para uma exibição otimizada, sugerimos a atualização para o Internet Explorer 7 ou posterior.
Versão do conteúdo de ajuda on-line: SOLIDWORKS 2014 SP05 Para desativar a Ajuda online no SOLIDWORKS e usar a Ajuda local, clique em Ajuda > Usar Ajuda on-line do SOLIDWORKS. Para relatar problemas encontrados na interface e na pesquisa da Ajuda on-line, consulte seu representante de suporte local. Para fornecer comentários sobre tópicos individuais da Ajuda, use o link “Comentários sobre este tópico” na página do tópico individual.