Utilice la herramienta Referencia DimXpert para definir las operaciones de referencia.
Para tener acceso a esta herramienta:
Haga clic en Referencia (barra de herramientas DimXpert) o en Herramientas > DimXpert > Referencia.
La herramienta admite estos tipos de indicaciones:
La mayoría de las opciones del PropertyManager Indicación de referencia de DimXpert son las mismas que las del PropertyManager Indicación de referencia no perteneciente a DimXpert. Las diferencias se enumeran a continuación.
Especifique la etiqueta de inicio, debajo de Opciones > Propiedades de documento > Estándar de dibujo > Anotaciones > Herramientas > Referencias .
Al introducir etiquetas de referencia, se comprueba la sintaxis en las entradas según el estándar de dibujo activo. Por ejemplo:
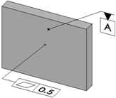
Para aplicar un símbolo de operación de referencia:
Si la cara seleccionada puede utilizarse para definir más de un tipo de operación, utilice el selector de operaciones para elegir la operación deseada.
Proporcione comentarios sobre este tema
SOLIDWORKS agradece sus comentarios acerca del formato, la precisión y la rigurosidad de la documentación. Utilice el siguiente formulario para enviar comentarios y sugerencias sobre este tema directamente al equipo de documentación. Nota: el equipo de documentación no puede responder a preguntas técnicas. Haga clic aquí para ver información sobre soporte técnico.
* Obligatorio
Gracias por proporcionar comentarios. Si tenemos preguntas sobre los mismos, nos pondremos en contacto con usted.
Atentamente,El equipo de documentación de SOLIDWORKS
Imprimir tema
Seleccione el ámbito del contenido que desee imprimir:
Hemos detectado que la versión de su explorador es anterior a Internet Explorer 7. Para una visualización óptima, le recomendamos que actualice a Internet Explorer 7 o versión superior.
Versión del contenido de la ayuda web: SOLIDWORKS 2014 SP05 Para desactivar la ayuda web desde SOLIDWORKS y utilizar la ayuda local en su lugar, haga clic en Ayuda > Usar la ayuda web de SOLIDWORKS. Para informar sobre problemas detectados con la interfaz y la función de búsqueda de la ayuda web, póngase en contacto con el representante local de soporte. Si desea proporcionar comentarios sobre temas individuales, utilice el vínculo “Comentarios sobre este tema” en la página del tema en cuestión.