隱藏目錄

DimXpert 大小尺寸支援的特徵

特徵 範例和尺寸類型
填料

直徑
導角

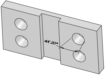
  • 角度-距離
  • 距離-距離
DimXpert 會使用定義 SolidWorks 導角時的方法來設定導角尺寸。

由拓樸所辨識的導角會設定尺寸為「距離-距離」。

圓錐
一組外部或內部圓錐必須具有相同的夾角,並位於共同的基準面上。
圓柱

半徑
特徵 範例和尺寸類型
圓角

半徑
相交圓
在圓錐與基準面的交點處導出的圓形。 該圓錐必須垂直於基準面,且不能透過橢圓產生。 該圓錐與基準面可能會被圓角或導角中斷。
柱孔

  • 鑽孔直徑和深度(給定深度時)
  • 柱孔直徑和深度
錐孔

  • 鑽孔直徑和深度(給定深度時)
  • 錐孔直徑和角度
特徵 範例和尺寸類型
簡易直孔

直徑和深度 (給定深度時),或是螺紋指定和深度 (給定深度時)
凹口

長度、寬度和深度 (給定深度時)
DimXpert 選項對話方塊中指定尺寸類型。
寬度

寬度
特徵 範例和尺寸類型
球形


提供對此主題的意見反應

SOLIDWORKS 歡迎您提供有關於文件呈現方式、正確性、及完整性的意見反應。請使用下方的表格直接將您對此主題的意見與建議傳送給我們的文件團隊。文件團隊並無法回答關於技術支援的問題。按一下此處來獲得關於技術支援的資訊

* 必要的

 
*電子郵件:  
主旨:   說明主題的意見反應
頁面:   DimXpert 大小尺寸支援的特徵
*意見:  
*   我承認已閱讀且僅此接受隱私權政策,Dassault Systèmes 將遵循此政策之規定使用我的個人資料

列印主題

選擇要列印的內容範圍:

x

偵測到您使用的瀏覽器版本是舊於 Internet Explorer 7。要獲得最佳的顯示,建議您升級瀏覽器到 Internet Explorer 7 或更新的版本。

 不要再次顯示此訊息
x

Web 式說明內容版本:SOLIDWORKS 2014 SP05

要從 SOLIDWORKS 中停用 Web 式的說明並改用本機說明,請按一下說明 > 使用 SOLIDWORKS Web 式說明

要報告在 Web 式說明介面及搜尋中遇到的問題,請聯絡您當地的技術支援代表。要針對個別說明主題提供意見反應,請使用個別主題頁面中的「提供對此主題的意見反應」連結。