Expand EinführungEinführung
Expand VerwaltungVerwaltung
Expand BenutzeroberflächeBenutzeroberfläche
Expand Grundlagen von SolidWorksGrundlagen von SolidWorks
Expand Umsteigen von 2D auf 3DUmsteigen von 2D auf 3D
Expand BaugruppenBaugruppen
Expand CircuitWorksCircuitWorks
Expand KonfigurationenKonfigurationen
Expand SolidWorks CostingSolidWorks Costing
Expand Design CheckerDesign Checker
Expand Konstruktionsstudien in SolidWorksKonstruktionsstudien in SolidWorks
Collapse Detaillierung und ZeichnungenDetaillierung und Zeichnungen
Expand DFMXpressDFMXpress
Expand DriveWorksXpressDriveWorksXpress
Expand FloXpressFloXpress
Expand Importieren und ExportierenImportieren und Exportieren
Expand ModellanzeigeModellanzeige
Expand GussformkonstruktionGussformkonstruktion
Expand BewegungsstudienBewegungsstudien
Expand Teile und FeaturesTeile und Features
Expand LeitungsführungLeitungsführung
Expand BlechBlech
Expand SimulationSimulation
Expand SimulationXpressSimulationXpress
Expand SkizzierenSkizzieren
Expand Sustainability ProdukteSustainability Produkte
Expand SolidWorks UtilitiesSolidWorks Utilities
Expand TolerancingTolerancing
Expand TolAnalystTolAnalyst
Expand ToolboxToolbox
Expand SchweißkonstruktionenSchweißkonstruktionen
Expand Workgroup PDMWorkgroup PDM
Expand ProblembehebungProblembehebung
Glossar
Inhaltsverzeichnis ausblenden

Festlegen von Optionen für Mittelkreuze

Optionen für Mittelkreuze festsetzen:

  1. Klicken Sie auf OptionenTool_Options_Standard.gif, und wählen Sie auf der Registerkarte Mittellinien/MittelkreuzeMittellinien/Mittelkreuze aus.
  2. Unter Mittelkreuze:
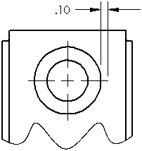
    1. Geben Sie einen Wert für Größe ein. Größe definiert die Länge, um die das Mittelkreuz über die Modellkante hinaus ragt sowie die Größe des Punktsymbols in der Mitte.
      cline_cmark_size.gif
    2. Aktivieren oder deaktivieren Sie die Felder für Verlängerte Linien und Mittellinien-Linienart.
  3. Wählen Sie unter Langloch-MittelkreuzeAuf Langloch ausrichten oder Auf Blatt ausrichten, und wählen Sie die Langloch-Mittelkreuz-Positionierungsoption aus. Diese Einstellungen bestimmen, wie gerade bzw. gekrümmte Langlöcher erstellt werden.
  4. Wählen Sie Detaillierung aus der Registerkarte Dokumenteigenschaften. Aktivieren oder deaktivieren Sie im Feld Bei Ansichtserstellung automatisch einfügen das Kontrollkästchen für.
    • Mittelkreuze-Bohrungen -Teil
    • Mittelkreuze-Verrundungen -Teil
    • Mittelkreuze-Langlöcher -Teil
    • Mittelkreuze-Bohrungen -Baugruppe
    • Mittelkreuze-Verrundungen -Baugruppe
    • Mittelkreuze-Langlöcher -Baugruppe

    Wenn diese Option ausgewählt ist, werden Mittelkreuze automatisch in alle passenden Kreise, Kreisbogen und Verrundungen in neuen Zeichnungen eingefügt.

  5. Klicken Sie auf OK.


Feedback zu diesem Thema geben

SOLIDWORKS ist dankbar für Ihr Feedback zur Präsentation, Genauigkeit und Vollständigkeit der Dokumentation. Verwenden Sie das nachstehende Formular, um Ihre Kommentare und Vorschläge zu diesem Thema direkt an unser Dokumentations-Team zu senden. Das Dokumentations-Team kann keine Fragen für den technischen Support beantworten. Klicken Sie hier für Informationen zum technischen Support.

* Erforderlich

 
*E-Mail:  
Betreff:   Feedback zu Hilfethemen
Seite:   Festlegen von Optionen für Mittelkreuze
*Kommentar:  
*   Ich bestätige, dass ich die Datenschutzerklärung, unter der meine personenbezogenen Daten durch Dassault Systèmes verarbeitet werden, gelesen habe und akzeptiere.

Thema drucken

Wählen Sie aus, was gedruckt werden soll:

x

Sie verwenden einen Browser, der älter als Internet Explorer 7 ist. Für eine optimierte Anzeige sollten Sie Ihren Browser auf Internet Explorer 7 oder höher aktualisieren.

 Diese Meldung nicht mehr anzeigen
x

Web-Hilfe Inhaltsversion: SOLIDWORKS 2014 SP05

Um die Web-Hilfe in SOLIDWORKS zu deaktivieren und stattdessen die lokale Hilfe zu verwenden, klicken Sie auf Help > SOLIDWORKS Web-Hilfe verwenden.

Um Probleme mit der Oberfläche und der Suche der Web-Hilfe zu melden, wenden Sie sich an Ihren Support vor Ort. Um Feedback zu einzelnen Hilfethemen zu geben, verwenden Sie den Link “Feedback zu diesem Thema” auf der entsprechenden Themenseite.