Expand IntroduzioneIntroduzione
Expand AmministrazioneAmministrazione
Expand Interfaccia utenteInterfaccia utente
Expand Nozioni fondamentali su SolidWorksNozioni fondamentali su SolidWorks
Expand Migrazione da 2D a 3DMigrazione da 2D a 3D
Expand AssiemiAssiemi
Expand CircuitWorksCircuitWorks
Expand ConfigurazioniConfigurazioni
Expand SolidWorks CostingSolidWorks Costing
Expand Design CheckerDesign Checker
Expand Studi progettuali in SolidWorksStudi progettuali in SolidWorks
Collapse Disegni e dettagliDisegni e dettagli
Panoramica dettagli
Impostazione delle opzioni Dettagli
Elementi modello
PropertyManager Elementi del modello
Expand eDrawings AnnotazionieDrawings Annotazioni
Expand StileStile
Aggiungi o aggiorna uno stile
Expand AnnotazioniAnnotazioni
Expand TabelleTabelle
Expand Distinta materiali (BOM)Distinta materiali (BOM)
Expand Standard di disegnoStandard di disegno
Expand Impostazioni di stampaImpostazioni di stampa
Collapse DisegniDisegni
Expand DFMXpressDFMXpress
Expand DriveWorksXpressDriveWorksXpress
Expand FloXpressFloXpress
Expand Importazione ed esportazioneImportazione ed esportazione
Expand Visualizzazione modelloVisualizzazione modello
Expand Progettazione di stampiProgettazione di stampi
Expand Studi del movimentoStudi del movimento
Expand Parti e funzioniParti e funzioni
Expand InstradamentoInstradamento
Expand LamieraLamiera
Expand SimulationSimulation
Expand SimulationXpressSimulationXpress
Expand Tecniche di schizzoTecniche di schizzo
Expand Prodotti SustainabilityProdotti Sustainability
Expand SolidWorks UtilitiesSolidWorks Utilities
Expand TolerancingTolerancing
Expand TolAnalystTolAnalyst
Expand ToolboxToolbox
Expand SaldatureSaldature
Expand Workgroup PDMWorkgroup PDM
Expand DiagnosticaDiagnostica
Glossario
Nascondi Sommario

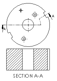
Esempi: Vista in sezione con offset

Questi esempi illustrano l'aggiunta di offset a una linea di taglio.

Offset arco

  1. Individuare una linea di taglio orizzontale Cutting-line-Horizontal.png.
    section-arc-offset-1.gif
  2. Aggiungere un offset arco sectionxpert-arc-offset.png.
    section-arc-offset-2.gif section-arc-offset-3.gif

    Primo punto sulla linea di taglio per iniziare un offset arco

    Secondo punto sulla geometria per impostare l'angolo dell'offset

  3. Vista di sezione finale
    section-arc-offset-complete.gif

Offset singolo

  1. Individuare una linea di taglio verticale Cutting-line-Vertical.png.
    section-single-offset-1-U.gif
  2. Aggiungere un offset singolo sectionxpert-single-offset.png.
    section-single-offset-2-U.gif section-single-offset-3-U.gif

    Primo punto sulla linea di taglio per iniziare un offset singolo

    Secondo punto sulla geometria per impostare la profondità dell'offset

  3. Vista di sezione finale
    section-single-offset-complete-U.gif

Offset tacca

  1. Individuare una linea di taglio orizzontale Cutting-line-Horizontal.png.
    section-notch-offset-1.gif
  2. Aggiungere un offset tacca sectionxpert-notch-offset.png.
    section-notch-offset-2.gif section-notch-offset-3.gif

    Primo punto sulla linea di taglio per iniziare un offset tacca

    Secondo punto sulla linea di taglio per impostare la lunghezza dell'offset

    section-notch-offset-4.gif  

    Terzo punto sulla geometria per impostare la profondità dell'offset

     
  3. Vista di sezione finale
    section-notch-offset-complete.gif


Fornisci il feedback su questo argomento

SOLIDWORKS apprezza il feedback degli utenti relativamente alla presentazione, la precisione e l'esaustività della documentazione. Usare il modulo riportato di seguito per inviare i propri commenti e suggerimenti su questo argomento direttamente al nostro team della documentazione. Questo team non è in grado di rispondere a domande di natura tecnica. Fare clic qui per informazioni sul supporto tecnico.

* Obbligatoria

 
*Email:  
Oggetto:   Feedback sugli argomenti della guida
Pagina:   Esempi: Vista in sezione con offset
*Commento:  
*   Confermo di aver letto e accettato l'informativa sulla privacy che regola l'utilizzo dei miei dati personali da parte di Dassault Systèmes

Stampa argomento

Selezionare il contenuto da stampare:

x

L'utente utilizza una versione di Internet Explorer precedente alla versione 7. Per una visualizzazione ottimale, consigliamo di fare l'upgrade del proprio browser a Internet Explorer 7 o successiva.

 Non mostrare nuovamente questo messaggio
x

Versione contenuto guida Web: SOLIDWORKS 2014 SP05

Per disattivare la guida Web dall'interno di SOLIDWORKS e usare invece la guida locale, fare clic su ? > Usa la guida Web di SOLIDWORKS.

Per segnalare i problemi riscontrati con l'interfaccia e la funzionalità di ricerca della guida Web, contattare il rappresentante del supporto locale. Per fornire un feedback su singoli argomenti della guida, usare il link "Feedback su questo argomento" nella pagina del singolo argomento.