目次を表示しない

DimXpert データム(DimXpert Datum)

DimXpert データム ツールを使用してデータム フィーチャーを定義します。

このツールにアクセスするには:

データム (DimXpert ツールバー) または ツール(Tools) > DimXpert > データム(Datum) をクリックします。

ツールはこれらのフィーチャータイプをサポートします:

  • ボス(Boss)
  • 円筒(Cylinder)
  • 切欠(Notch)
  • 平面(Plane)
  • 単一穴(Simple Hole)
  • スロット(Slot)
  • 幅 (Width)

ほとんどの DimXpert データム フィーチャー PropertyManager オプションは、非 DimXpert データム フィーチャー PropertyManager と同じです。違いを下記に示します。

ラベル設定(Label Settings)

データムを適用、または編集しているとき、データム ラベル を入力し、引出線の種類を割り当てます。

開始ラベルを ツール (Tools) > オプション (Options) > ドキュメント プロパティ (Document Properties) > 設計規格 (Drafting Standard) > アノテート アイテム (Annotations) > データム (Datum) で指定します。

データムラベルを入力するとき、入力された値がアクティブな図面規格のシンタックスであるかがチェックされます。例:

  • 数値を入力すると、すべての規格で警告メッセージを表示する。
  • ANSIのとき、IO、または Qを入力すると、警告メッセージを表示する。
  • ISOのとき、AA を入力すると警告メッセージを表示する。

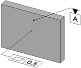
引出線(Leader)

datum.png サーフェス(Surface) データム三角形をフィーチャーのサーフェスに添付します。

方向指定引出線 データム三角形を方向指定引出線に添付します。

{\cs6\f1\cf6\lang1024 <span style="font-weight: bold;">}寸法 データム三角形を寸法またはフィーチャー コントロール枠に添付します。



Gtol データム三角形をフィーチャー コントロール枠に添付します。

フィーチャーによるデータム例

ボス(Boss)
円筒(Cylinder)
切欠(Notch)
平面(Plane)
単一穴(Simple Hole)

スロット(Slot)
幅 (Width)

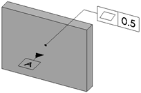
データム記号の適用

データムフィーチャー記号を適用するには:

  1. データム (DimXpert ツールバー) または ツール(Tools) > DimXpert > データム(Datum) をクリックします。
  2. データムフィーチャーの面を選択して、データム記号として配置するためにグラフィックス領域をクリックします。

    もし選択された面が 1 つ以上のフィーチャータイプを定義するために使用できるなら、フィーチャー セレクターを必要とされるフィーチャーを選択するために使ってください。

  3. PM_OK.gif をクリックします。


トピックについてフィードバックを送信

ヘルプに関してフィードバックを送信することができます。しかし、ドキュメンテーション グループはテクニカル サポートに関する質問に答えることはできません。 テクニカル サポートに関する情報はここをクリックしてください

* 必要項目

 
*電子メール:  
件名:   トピックのフィードバック
ページ:   DimXpert データム(DimXpert Datum)
*コメント:  
*   プライバシー ポリシーを読み、個人情報が Dassault Systèmes によって使用されることに同意します。

トピックの印刷

印刷するコンテンツの範囲を選択:

x

Internet Explorer 7 より古いブラウザ バージョンが検知されました。 表示を最適化するにはInternet Explorer 7 以上のブラウザ バージョンにアップグレードしてください。

 今後このメッセージを表示しない
x

Web ヘルプ コンテンツ バージョン: SOLIDWORKS 2014 SP05

SOLIDWORKS で Web ヘルプを無効にして、ローカル ヘルプを使用するには、ヘルプ > SOLIDWORKS Web ヘルプ使用 をクリックしてください。

Web ヘルプのインタフェースや検索機能に関する問題は、お客様のサポート担当者までご連絡ください。各トピック ページの「トピックについてフィードバックする」リンクを使用し、各ヘルプ トピックについてフィードバックを送信することもできます。