Expand はじめにはじめに
Expand 管理管理
Expand ユーザー インターフェースユーザー インターフェース
Expand SolidWorks の基礎 SolidWorks の基礎
Expand 2D から 3D へ移行2D から 3D へ移行
Expand アセンブリアセンブリ
Expand CircuitWorksCircuitWorks
Expand コンフィギュレーションコンフィギュレーション
Expand CostingCosting
Expand Design CheckerDesign Checker
Expand SolidWorksにおけるデザイン スタディSolidWorksにおけるデザイン スタディ
Collapse 詳細設定と図面詳細設定と図面
Expand DFMXpressDFMXpress
Expand DriveWorksXpressDriveWorksXpress
Expand FloXpressFloXpress
Expand インポート/エクスポートインポート/エクスポート
Expand モデル表示モデル表示
Expand モールド設計モールド設計
Expand モーション スタディモーション スタディ
Expand 部品とフィーチャー 部品とフィーチャー
Expand ルーティングルーティング
Expand 板金板金
Expand シミュレーションシミュレーション
Expand SimulationXpressSimulationXpress
Expand スケッチングスケッチング
Expand Sustainability 製品Sustainability 製品
Expand SolidWorks UtilitiesSolidWorks Utilities
Expand TolerancingTolerancing
Expand TolAnalystTolAnalyst
Expand ToolboxToolbox
Expand 溶接溶接
Expand Workgroup PDMWorkgroup PDM
Expand トラブルシューティングトラブルシューティング
用語集
目次を表示しない

寸法の移動とコピー(Moving and Copying Dimensions)

一度図面に表示され寸法は、ビュー内を移動、または別のビューへ移動できます。寸法をドラッグして移動すると、寸法が適切な位置でモデルに再添付されます。寸法表示が適切なビューにのみ寸法を移動、またはコピーできます。

ビデオ:寸法の移動とコピー(Moving and Copying Dimensions)

ビュー内で寸法を移動するには:

寸法を別の位置にドラッグします。

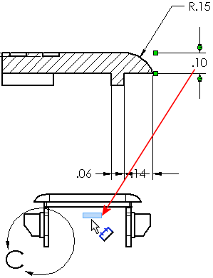
ビューにおいて、ある寸法を同じ値の別のフィーチャーに添付するには:

寸法を選択し、矢印を別のエッジまでドラッグアンドドロップします。

この方法は、半径/直径/面取りの寸法でのみ有効です。
switch_same_sized_features_01.gif

一方のビューから他方のビューに寸法を移動またはコピーするには:

Shift キー(移動する場合)または Ctrl キー(コピーする場合)を押しながら、別の図面ビューまで寸法をドラッグします。

この方法で複数の駆動寸法を作成できます。
move_copy_dims.gif

複数の寸法を一度に移動またはコピーするには:

Ctrl キーを押しながら選択します。

寸法を回転するには:

寸法テキストに一番近いハンドルをドラッグします。

寸法は小刻みに回転します。
rotate_dimension.gif

同一サイズフィーチャーに対する寸法引出線コントロール

半径、直径、面取り寸法引出線または穴寸法テキストの引出線を図面ビューに含まれる同じサイズのフィーチャーに対して移動できます。

共通のフィーチャーに寸法および穴寸法テキスト引出線の端点を移動するには、1つのフィーチャーから別のフィーチャーに引出線の端点をドラッグします。



トピックについてフィードバックを送信

ヘルプに関してフィードバックを送信することができます。しかし、ドキュメンテーション グループはテクニカル サポートに関する質問に答えることはできません。 テクニカル サポートに関する情報はここをクリックしてください

* 必要項目

 
*電子メール:  
件名:   トピックのフィードバック
ページ:   寸法の移動とコピー(Moving and Copying Dimensions)
*コメント:  
*   プライバシー ポリシーを読み、個人情報が Dassault Systèmes によって使用されることに同意します。

トピックの印刷

印刷するコンテンツの範囲を選択:

x

Internet Explorer 7 より古いブラウザ バージョンが検知されました。 表示を最適化するにはInternet Explorer 7 以上のブラウザ バージョンにアップグレードしてください。

 今後このメッセージを表示しない
x

Web ヘルプ コンテンツ バージョン: SOLIDWORKS 2014 SP05

SOLIDWORKS で Web ヘルプを無効にして、ローカル ヘルプを使用するには、ヘルプ > SOLIDWORKS Web ヘルプ使用 をクリックしてください。

Web ヘルプのインタフェースや検索機能に関する問題は、お客様のサポート担当者までご連絡ください。各トピック ページの「トピックについてフィードバックする」リンクを使用し、各ヘルプ トピックについてフィードバックを送信することもできます。