Ocultar Sumário

Referenciais do DimXpert

Use a ferramenta Referenciais do DimXpert para definir recursos referenciais.

Para acessar esta ferramenta:

Clique em Referencial (barra de ferramentas do DimXpert) ou em Ferramentas > DimXpert > Referencial.

Essa ferramenta tem suporte para os seguintes tipos de recurso:

  • Ressalto
  • Cilindro
  • Entalhe
  • Plano
  • Furo simples
  • Ranhura
  • Largura

A maioria das opções do PropertyManager de Recurso referencial do DimXpert é idêntica às do PropertyManager de Recurso referencial que não é do DimXpert. As diferenças são descritas abaixo.

Configurações de etiqueta

Quando aplicar ou editar um referencial, insira uma etiqueta referencial e atribua um tipo de linha de chamada.

Especifique a etiqueta inicial em Ferramentas > Opções > Propriedades do documento > Padrões de desenho > Anotações > Referenciais .

Quando você insere etiquetas de referencial, a sintaxe das entradas é verificada segundo o padrão de desenho ativo. Por exemplo:

  • Inserir um número gera uma mensagem de advertência para todas as normas.
  • Inserir um I, O ou Q gera uma mensagem de advertência quando em ANSI.
  • Inserir AA gera uma mensagem de advertência quando em ISO.

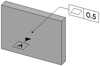
Linha de chamada

datum.png Superfície Anexa o triângulo referencial a uma superfície do recurso.

Linha de chamada dirigida Anexa o triângulo referencial a uma linha de chamada dirigida.

Cota Anexa o triângulo referencial a uma dimensão ou estrutura de controle de recurso.



Gtol Anexa o triângulo referencial a uma estrutura de controle do recurso.

Exemplos de referenciais por recurso

Ressalto
Cilindro
Entalhe
Plano
Furo simples

Ranhura
Largura

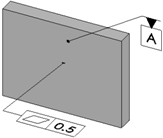
Aplicar um símbolo de recurso de referência primária

Para aplicar um símbolo de recurso referencial:

  1. Clique em Referencial (barra de ferramentas DimXpert) ou em Ferramentas > DimXpert > Referencial.
  2. Selecione a face do recurso referencial e clique na área de gráficos para inserir a o símbolo de recurso referencial

    Se a face selecionada puder ser usada para definir mais de um tipo de recurso, use o seletor de recursos para escolher o recurso necessário.

  3. Clique em PM_OK.gif.


Envie-nos seus comentários sobre este tópico

O SOLIDWORKS agradece seu feedback sobre a apresentação, precisão e nível de detalhe da documentação. Use o formulário abaixo para enviar comentários e sugestões sobre este tópico diretamente à equipe responsável pela documentação. Esta equipe não responde a perguntas de suporte técnico. Clique aqui para ver informações específicas do suporte técnico.

* Obrigatório

 
*E-mail:  
Assunto:   Comentários sobre os tópicos da Ajuda
Página:   Referenciais do DimXpert
*Comentário:  
*   Eu reconheço que li e aceito, por meio deste, a política de privacidade segundo a qual meus Dados pessoais serão usados pela Dassault Systèmes

Imprimir tópico

Selecione o escopo do conteúdo a imprimir:

x

Foi detectada uma versão de navegador anterior ao Internet Explorer 7. Para uma exibição otimizada, sugerimos a atualização para o Internet Explorer 7 ou posterior.

 Não mostrar essa mensagem novamente
x

Versão do conteúdo de ajuda on-line: SOLIDWORKS 2014 SP05

Para desativar a Ajuda online no SOLIDWORKS e usar a Ajuda local, clique em Ajuda > Usar Ajuda on-line do SOLIDWORKS.

Para relatar problemas encontrados na interface e na pesquisa da Ajuda on-line, consulte seu representante de suporte local. Para fornecer comentários sobre tópicos individuais da Ajuda, use o link “Comentários sobre este tópico” na página do tópico individual.