Expand ВведениеВведение
Expand АдминистрацияАдминистрация
Expand Интерфейс пользователяИнтерфейс пользователя
Expand Основные принципы SolidWorksОсновные принципы SolidWorks
Expand Переход из  2D в 3DПереход из 2D в 3D
Expand СборкиСборки
Expand CircuitWorksCircuitWorks
Expand КонфигурацииКонфигурации
Expand SolidWorks CostingSolidWorks Costing
Expand Design CheckerDesign Checker
Expand Исследования проектирования в SolidWorksИсследования проектирования в SolidWorks
Expand Чертежи и оформлениеЧертежи и оформление
Expand DFMXpressDFMXpress
Expand DriveWorksXpressDriveWorksXpress
Expand FloXpressFloXpress
Expand Импорт и экспортИмпорт и экспорт
Expand Отображение моделиОтображение модели
Expand Проектирование литейной формыПроектирование литейной формы
Expand Исследования движенияИсследования движения
Expand Детали и элементыДетали и элементы
Expand МаршрутМаршрут
Expand Листовой металлЛистовой металл
Expand SimulationSimulation
Expand SimulationXpressSimulationXpress
Expand Создание эскизаСоздание эскиза
Expand Продукты Sustainability Продукты Sustainability
Expand SolidWorks UtilitiesSolidWorks Utilities
Collapse TolerancingTolerancing
Expand TolAnalystTolAnalyst
Expand ToolboxToolbox
Expand Сварные деталиСварные детали
Expand Workgroup PDMWorkgroup PDM
Expand Устранение неполадокУстранение неполадок
Глоссарий
Скрыть содержание

База DimXpert

Используйте инструмент DimXpert База для определения элементов базы.

Чтобы открыть этот инструмент:

Нажмите База (панель инструментов DimXpert) или выберите Инструменты > DimXpert > База.

Инструмент поддерживает следующие элементы:

  • Бобышка
  • Цилиндр
  • Канавка
  • Плоскость
  • Простое отверстие
  • Прорезь
  • Ширина

Большинство параметров в окне Базовая поверхность PropertyManager в DimXpert аналогичны параметрам в окне Базовая поверхность PropertyManager, не принадлежащем DimXpert. Их различия перечислены ниже.

Настройки метки

При применении или редактировании базы введите Метка и назначьте тип выноски.

Укажите начальную метку в разделе Инструменты > Параметры > Свойства документа > Чертежный стандарт > Примечания > Базы.

При вводе меток базы проверяется синтаксис введенных значений для стандарта активного чертежа. Например:

  • Ввод цифры приводит к появлению предупреждающего сообщения для всех стандартов.
  • При вводе I, O или Q появляется предупреждающее сообщение (в стандарте ANSI).
  • Ввод AA приводит к появлению предупреждающего сообщения для стандарта ISO.

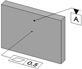
Выноска

datum.png Поверхность Прикрепление треугольника к поверхности элемента.

Выноска с направлением Прикрепление треугольника к выноске с направлением.

Размер Прикрепление треугольника к размеру или рамке управления элементом.



Геометрические допуски Прикрепление треугольника к рамке управления элементом.

Примеры элементов базы

Бобышка
Цилиндр
Канавка
Плоскость
Простое отверстие

Прорезь
Ширина

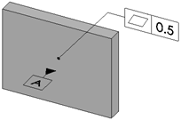
Применение обозначения базовой поверхности

Чтобы вставить обозначение базы:

  1. Выберите База (панель инструментов DimXpert) или Инструменты > DimXpert > База.
  2. Выберите грань для базового элемента и нажмите в графической области, чтобы разместить обозначение базы.

    Если выбранную грань можно использовать для определения нескольких элементов, для выбора необходимого элемента используйте панель выбора элементов.

  3. Нажмите PM_OK.gif.


Оставьте отзыв об этом разделе

SOLIDWORKS благодарит Вас за отзыв по поводу представления, точности и полноты документации. Воспользуйтесь формой ниже, чтобы отправить свои комментарии и предложения о данном разделе справки в Отдел документации. Отдел документации не предоставляет ответы на вопросы по технической поддержке. Нажмите здесь для получения информации о технической поддержке.

* Обязательно

 
*Электронная почта:  
Тема:   Отзывы по поводу разделов Справки
Страница:   База DimXpert
*Отзыв:  
*   Я подтверждаю, что прочитал(а) и принимаю положения политики конфиденциальности, в соответствии с которыми Dassault Systèmes будет использовать мои персональные данные.

Печать разделов

Выберите содержимое для печати:

x

Вы используете более раннюю версию браузера, чем Internet Explorer 7. Для оптимизации отображения рекомендуется обновить Ваш браузер до версии Internet Explorer 7 или новее.

 Больше не отображать это сообщение
x

Версия содержимого веб-справки: SOLIDWORKS 2014 SP05

Чтобы отключить веб-справку в программе SOLIDWORKS и использовать локальную версию справки, нажмите Справка > Использовать веб-справку по SOLIDWORKS .

По проблемам, связанным с интерфейсом и поиском по веб-справке, обращайтесь к местному представителю службы поддержки. Чтобы оставить отзыв по отдельным темам справки, воспользуйтесь ссылкой "Отзыв об этом разделе" на странице нужного раздела.