İçindekiler'i Gizle

DimXpert Datum

Datum unsurlarını tanımlamak için DimXpert Datum aracını kullanın.

Bu araca erişmek için:

Datum (DimXpert araç çubuğu) veya Araçlar > DimXpert > Datum öğesine tıklayın.

Araç şu unsur tiplerini destekler:

  • Yükseklik
  • Silindir
  • Çentik
  • Düzlem
  • Basit Delik
  • Yuva
  • Genişlik

Çoğu DimXpert Datum Unsuru PropertyManager seçenekleri DimXpert olmayan Datum Unsuru PropertyManager seçenekleri ile aynıdır. Farklılıklar aşağıda belirtilmiştir.

Etiket Ayarları

Bir datum uygularken veya düzenlerken, bir datum Etiket değeri girin ve lider tipi atayın.

Araçlar > Seçenekler > Belge Özellikleri > Draft Standardı > Detaylandırmalar > Datumlar altında başlangıç etiketini belirtin.

Datum etiketi girerken, her etkin teknik çizim standardının sözdizimi için girdiler kontrol edilir. Örneğin:

  • Bir sayısal değer girildiğinde tüm standartlar için bir hata mesajı üretilir.
  • Bir I, O veya Q girmek, ANSI'deyken bir uyarı mesajı oluşturur.
  • AA girmek, ISO'dayken bir hata mesajı oluşturur.

Lider

datum.png Yüzey Datum üçgenini bir unsurun yüzeyine iliştirir.

Yönlendirilen Lider Datum üçgenini yönlendirilen bir lidere iliştirir.

Ölçümlendirme Datum üçgenini bir ölçümlendirmeye veya unsur kontrol çerçevesine iliştirir.



Gtol Datum üçgenini bir unsur kontrol çerçevesine iliştirir.

Unsura Göre Datum Örnekleri

Yükseklik
Silindir
Çentik
Düzlem
Basit Delik

Yuva
Genişlik

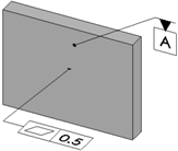
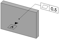
Bir Datum Unsuru Sembolünü Uygulama

Bir datum unsur sembolü uygulamak için:

  1. Datum (DimXpert araç çubuğu) veya Araçlar > DimXpert > Datum öğesine tıklayın.
  2. Datum unsurunun yüzünü seçin ve datum unsur sembolünü yerleştirmek için grafik alanına tıklayın.

    Seçilen yüz birden fazla unsur tipini tanımlamak için kullanılabilirse, gereken unsuru seçmek için unsur seçici'yi kullanın.

  3. PM_OK.gif öğesine tıklayın.


Bu başlık hakkında geribildirimde bulunun

SOLIDWORKS; dokümantasyonun sunumu, doğruluğu ve bütünlüğü hakkında geribildiriminizi almaktan memnuniyet duyar. Bu başlık ile ilgili yorum ve önerilerinizi, aşağıdaki formu kullanarak doğrudan dokümantasyon takımımıza yollayın. Dokümantasyon takımı teknik destek sorularına yanıt veremez. Teknik destek ile ilgili bilgiler için buraya tıklayın.

* Gerekli

 
*Email:  
Konu:   Yardım Başlıkları Hakkında Geribildirim
Sayfa:   DimXpert Datum
*Yorum:  
*   Kişisel Bilgilerimin Dassault Systèmes tarafından kullanılacağının belirtildiği gizlilik politikasını okuduğumu ve kabul ettiğimi onaylıyorum

Yazdırma Başlığı

Yazdırılacak içeriğin kapsamını seçin:

x

Internet Explorer 7'den daha eski bir tarayıcı sürümünü kullandığınızı tespit ettik. Optimize edilmiş görünüm için tarayıcınızı Internet Explorer 7 veya daha yenisine yükseltmenizi öneririz.

 Bu mesajı bir daha asla gösterme
x

Web Yardım İçerik Sürümü: SOLIDWORKS 2014 SP05

SOLIDWORKS içindeki Web yardımını devre dışı bırakmak ve onun yerine yerel yardımı kullanmak için Yardım > SOLIDWORKS Web Yardımını Kullan öğelerine tıklayın.

Web yardımı arabirimi ve araması ile ilgili karşılaştığınız sorunları lütfen yerel destek temsilcinize bildirin. Yardım başlıkları hakkında ayrı ayrı geri bildirimde bulunmak için ilgili başlığın sayfasından "Bu başlık hakkında geribildirim" bağlantısına tıklayın.