Expand GirişGiriş
Expand YönetimYönetim
Expand Kullanıcı ArayüzüKullanıcı Arayüzü
Expand SolidWorks TemelleriSolidWorks Temelleri
Expand 2B'den 3B'ye geçiş2B'den 3B'ye geçiş
Expand MontajlarMontajlar
Expand CircuitWorksCircuitWorks
Expand KonfigürasyonlarKonfigürasyonlar
Expand SolidWorks CostingSolidWorks Costing
Expand Design CheckerDesign Checker
Expand SolidWorks'te Tasarım EtütleriSolidWorks'te Tasarım Etütleri
Collapse Detaylandırma ve Teknik ResimlerDetaylandırma ve Teknik Resimler
Detaylamaya Genel Bakış
Detaylandırma Seçeneklerini Ayarlama
Model Öğeleri
Model Öğeleri PropertyManager'ı
Expand eDrawings İşaretlemelerieDrawings İşaretlemeleri
Expand StilStil
Stil Ekleme veya Güncelleme
Expand DetaylandırmalarDetaylandırmalar
Expand TablolarTablolar
Expand Malzeme Listesi (BOM)Malzeme Listesi (BOM)
Expand Draft StandartlarıDraft Standartları
Expand Yazdırma AyarlarıYazdırma Ayarları
Collapse Teknik ResimlerTeknik Resimler
Expand Teknik Resimlere BaşlangıçTeknik Resimlere Başlangıç
Expand Teknik Resim Belge TipleriTeknik Resim Belge Tipleri
Expand Standart Teknik Resim GörünümleriStandart Teknik Resim Görünümleri
Expand Türetilmiş Teknik Resim GörünümleriTüretilmiş Teknik Resim Görünümleri
Çoklu Görünüm PropertyManager'ı
Görünümü Çizime Dönüştür PropertyManager'ı
Expand Teknik Resim Görünümü Hizalaması ve GörüntüsüTeknik Resim Görünümü Hizalaması ve Görüntüsü
DrawCompare
Teknik Resim İstatistikleri
Teknik Resimleri Yazdırma
Posta Gönder
Expand Başlık Bloğu YönetimiBaşlık Bloğu Yönetimi
Collapse Teknik Resimlerde ÖlçümlendirmelerTeknik Resimlerde Ölçümlendirmeler
Expand DFMXpressDFMXpress
Expand DriveWorksXpressDriveWorksXpress
Expand FloXpressFloXpress
Expand Al ve VerAl ve Ver
Expand Model GörünümüModel Görünümü
Expand Kalıp TasarımıKalıp Tasarımı
Expand Hareket EtütleriHareket Etütleri
Expand Parçalar ve UnsurlarParçalar ve Unsurlar
Expand TesisatTesisat
Expand Sac LevhaSac Levha
Expand SimülasyonSimülasyon
Expand SimulationXpressSimulationXpress
Expand ÇizmeÇizme
Expand Sustainability ÜrünleriSustainability Ürünleri
Expand SolidWorks UtilitiesSolidWorks Utilities
Expand TolerancingTolerancing
Expand TolAnalystTolAnalyst
Expand ToolboxToolbox
Expand ProfillerProfiller
Expand Workgroup PDMWorkgroup PDM
Expand Sorun GidermeSorun Giderme
Terimler
İçindekiler'i Gizle

Ölçümlendirmeleri Taşıma ve Kopyalama

Ölçümlendirmeler teknik resimde görüntülendikten sonra, bir görünüm içinde veya başka bir görünüme taşıyabilirsiniz. Bir ölçümlendirmeyi bir yerden başka bir yere sürüklediğinizde, ölçümlendirme uygun şekilde modele yeniden iliştirilir. Ölçümlendirmeleri, yalnızca ölçümlendirme için uygun oryantasyonun olduğu bir görünüme taşıyabilir veya kopyalayabilirsiniz.

Video: Ölçümlendirmeleri Taşıma ve Kopyalama

Görünüm içinde bir ölçümlendirmeyi taşımak için:

Ölçümlendirmeyi yeni konuma sürükleyin.

Görünüm içinde bir ölçümlendirmeyi aynı boyutta farklı bir unsura geçirmek için:

Ölçümlendirmeyi seçin ve ok başı tutamacını başka bir kenara sürükleyip bırakın.

Bu yöntem yalnızca radyal, çap ve pah ölçümlendirmeleri için kullanılabilir.
switch_same_sized_features_01.gif

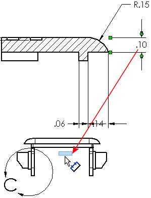
Ölçümlendirmeleri bir görünümden diğerine taşımak veya kopyalamak için:

Shift tuşunu (taşımak için) veya Ctrl tuşunu (kopyalamak için) basılı tutarak ölçümlendirmeleri başka bir görünüme sürükleyin.

Bu yöntemi birden fazla süren ölçümlendirme oluşturmak için kullanın.
move_copy_dims.gif

Birkaç ölçümlendirmeyi aynı anda taşımak veya kopyalamak için:

Seçim yaparken Ctrl tuşunu basılı tutun.

Bir ölçümlendirmeyi döndürmek için:

Ölçümlendirme metnine en yakın tutamacı sürükleyin.

Ölçümlendirme küçük aralıklarla döner.
rotate_dimension.gif

Aynı Boyutlu Unsurlar için Ölçümlendirme Lideri Kontrolü

Radyal, çap veya pah ölçümlendirme liderlerini veya delik bilgisi liderlerini bir teknik resim görünümündeki aynı boyutlu unsurlar arasında taşıyabilirsiniz.

Ortak unsurlar için ölçümlendirme ve delik bilgisi liderinin uç noktalarını taşımak için, lider uç noktalarını bir unsurdan başkasına sürükleyin.



Bu başlık hakkında geribildirimde bulunun

SOLIDWORKS; dokümantasyonun sunumu, doğruluğu ve bütünlüğü hakkında geribildiriminizi almaktan memnuniyet duyar. Bu başlık ile ilgili yorum ve önerilerinizi, aşağıdaki formu kullanarak doğrudan dokümantasyon takımımıza yollayın. Dokümantasyon takımı teknik destek sorularına yanıt veremez. Teknik destek ile ilgili bilgiler için buraya tıklayın.

* Gerekli

 
*Email:  
Konu:   Yardım Başlıkları Hakkında Geribildirim
Sayfa:   Ölçümlendirmeleri Taşıma ve Kopyalama
*Yorum:  
*   Kişisel Bilgilerimin Dassault Systèmes tarafından kullanılacağının belirtildiği gizlilik politikasını okuduğumu ve kabul ettiğimi onaylıyorum

Yazdırma Başlığı

Yazdırılacak içeriğin kapsamını seçin:

x

Internet Explorer 7'den daha eski bir tarayıcı sürümünü kullandığınızı tespit ettik. Optimize edilmiş görünüm için tarayıcınızı Internet Explorer 7 veya daha yenisine yükseltmenizi öneririz.

 Bu mesajı bir daha asla gösterme
x

Web Yardım İçerik Sürümü: SOLIDWORKS 2014 SP05

SOLIDWORKS içindeki Web yardımını devre dışı bırakmak ve onun yerine yerel yardımı kullanmak için Yardım > SOLIDWORKS Web Yardımını Kullan öğelerine tıklayın.

Web yardımı arabirimi ve araması ile ilgili karşılaştığınız sorunları lütfen yerel destek temsilcinize bildirin. Yardım başlıkları hakkında ayrı ayrı geri bildirimde bulunmak için ilgili başlığın sayfasından "Bu başlık hakkında geribildirim" bağlantısına tıklayın.