隱藏目錄

範例:使用方位公差

方位公差 選項讓 TolAnalyst 可以衡量明顯控制特徵方位的公差。 當與選項及 浮動扣件及銷 合併使用時,方位公差 選項可讓 TolAnalyst 使用特徵間的餘隙來旋轉零件至其最糟的狀況。

支援的公差:
  • 角度
  • 平行
  • 垂直
  • 位置尺寸工具定義的角度尺寸。
方位公差 選項不衡量明顯控制特徵方位的這些公差: 使用 位置尺寸工具定義的位置、曲面輪廓以及線性尺寸。

範例 1

用這個組合件建立一個研究以評估 "L" 形托架基材與頂板之間的距離。
106 尺寸表示您要評估的距離。
將所顯示的公差套用至 "L" 形托架。
清除方位公差後,結果是最小 103.5,最大 108.5
選擇方位公差後,結果是最小 98,最大 114
TolAnalyst 衡量 1的平行公差時,特徵也必須保持在 125 +/- 2 限制內。

範例 2

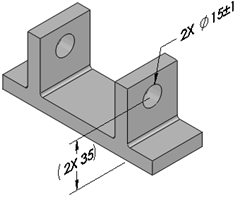
使用此組合件產生一個研究以評估由尺寸 35 所示的從基材到軸之間的距離。
套用所示的大小公差到基材的兩個鑽孔中。
套用所示的大小公差到軸的直徑上。
在選擇了浮動扣件及銷及清除方位公差的情況下,產生的結果是最小為 33,最大為 37(如所示)。請注意到軸如何頂住鑽孔的上方。
在同時選擇了浮動扣件及銷方位公差的情況下,產生的結果是最小為 32,最大為 38(如所示)。請注意軸如何旋轉,使其接觸左鑽孔的上方外部邊線及右鑽孔的底部外部邊線。


提供對此主題的意見反應

SOLIDWORKS 歡迎您提供有關於文件呈現方式、正確性、及完整性的意見反應。請使用下方的表格直接將您對此主題的意見與建議傳送給我們的文件團隊。文件團隊並無法回答關於技術支援的問題。按一下此處來獲得關於技術支援的資訊

* 必要的

 
*電子郵件:  
主旨:   說明主題的意見反應
頁面:   範例:使用方位公差
*意見:  
*   我承認已閱讀且僅此接受隱私權政策,Dassault Systèmes 將遵循此政策之規定使用我的個人資料

列印主題

選擇要列印的內容範圍:

x

偵測到您使用的瀏覽器版本是舊於 Internet Explorer 7。要獲得最佳的顯示,建議您升級瀏覽器到 Internet Explorer 7 或更新的版本。

 不要再次顯示此訊息
x

Web 式說明內容版本:SOLIDWORKS 2015 SP05

要從 SOLIDWORKS 中停用 Web 式的說明並改用本機說明,請按一下說明 > 使用 SOLIDWORKS Web 式說明

要報告在 Web 式說明介面及搜尋中遇到的問題,請聯絡您當地的技術支援代表。要針對個別說明主題提供意見反應,請使用個別主題頁面中的「提供對此主題的意見反應」連結。