Expand IntroductionIntroduction
Expand AdministrationAdministration
Expand Interface utilisateurInterface utilisateur
Collapse Fonctions de base de SOLIDWORKSFonctions de base de SOLIDWORKS
Concepts de base
Commandes de base : Couper, copier, coller, Annuler et Rétablir
Expand Aide, Rechercher et Ressources du webAide, Rechercher et Ressources du web
Expand Eléments de base du documentEléments de base du document
Collapse Vue d'ensemble des options de SOLIDWORKSVue d'ensemble des options de SOLIDWORKS
Expand AffichageAffichage
Expand SélectionSélection
Expand Propriétés de fichierPropriétés de fichier
Expand Outil MesurerOutil Mesurer
Expand CapteursCapteurs
Expand EquationsEquations
Expand Outils de conception sectorielsOutils de conception sectoriels
Les outils Xperts
Compléments
Expand SOLIDWORKS Fast StartSOLIDWORKS Fast Start
Expand Liaison et incorporation d'objetsLiaison et incorporation d'objets
Expand Enregistrer et lire les macrosEnregistrer et lire les macros
Expand  Composants de versions futures dans les versions antérieures Composants de versions futures dans les versions antérieures
SOLIDWORKS API
Planificateur de tâches SOLIDWORKS
A propos de SOLIDWORKS
Expand Migrer de la 2D à la 3DMigrer de la 2D à la 3D
Expand AssemblagesAssemblages
Expand CircuitWorksCircuitWorks
Expand ConfigurationsConfigurations
Expand SOLIDWORKS CostingSOLIDWORKS Costing
Expand Design CheckerDesign Checker
Expand Etudes de conception dans SOLIDWORKSEtudes de conception dans SOLIDWORKS
Expand Habillage et mises en planHabillage et mises en plan
Expand DFMXpressDFMXpress
Expand DriveWorksXpressDriveWorksXpress
Expand FloXpressFloXpress
Expand Echange de données SLDXMLEchange de données SLDXML
Expand Opérations d'import et d'exportOpérations d'import et d'export
Expand Affichage du modèleAffichage du modèle
Expand Conception de moulesConception de moules
Expand Etudes de mouvementEtudes de mouvement
Expand Pièces et fonctionsPièces et fonctions
Expand RoutageRoutage
Expand TôlerieTôlerie
Expand SimulationSimulation
Expand SimulationXpressSimulationXpress
Expand EsquisseEsquisse
Expand Produits SustainabilityProduits Sustainability
Expand SOLIDWORKS MBDSOLIDWORKS MBD
Expand SOLIDWORKS UtilitiesSOLIDWORKS Utilities
Expand TolérancementTolérancement
Expand TolAnalystTolAnalyst
Expand ToolboxToolbox
Expand Constructions soudéesConstructions soudées
Expand Workgroup PDMWorkgroup PDM
Expand DépannageDépannage
Glossaire
Masquer le sommaire

Propriétés du document - Bulles

Vous pouvez spécifier des paramètres d'habillage pour les annotations de bulles au niveau du document. Ces paramètres peuvent être écrasés dans le PropertyManager. Disponible pour tous types de document.

Pour ouvrir cette page :

Dans une mise en plan, cliquez sur Options (barre d'outils Standard), sélectionnez l'onglet Propriétés du document, puis Annotations > Bulles.

Norme d'habillage générale

Norme d'habillage générale Héritée des paramètres de la page Norme d'habillage.

Norme des bulles de base

Norme des bulles de base
Sélectionnez une norme :
  • ANSI
  • ISO
  • DIN
  • JIS
  • BSI
  • GOST
  • GB

Style de la ligne d'attache

Style de la ligne d'attache Sélectionnez : un style.
Epaisseur de la ligne d'attache Sélectionnez : une épaisseur ou sélectionnez Taille personnalisée et entrez une épaisseur.

Style de contour

Style de contour Définit le style pour la forme entourant le texte.
Epaisseur de contour Sélectionnez : une épaisseur ou sélectionnez Taille personnalisée et entrez une épaisseur.

Texte

Police

Cliquez pour modifier la police.

En haut Pour la partie supérieure des bulles à ligne de séparation circulaire ou pour tous les autres types de bulles, sélectionnez:
  • Texte
  • Numéro d'article
  • Grandeur
  • Propriétés personnalisées
En haut s'applique aux bulles simples et empilées.
En bas Pour la partie inférieure des bulles à ligne de séparation circulaire, sélectionnez:
  • Texte
  • Numéro d'article
  • Grandeur
  • Propriétés personnalisées

Affichage des lignes d'attache

Affichage des lignes d'attache Sélectionnez l'une des options suivantes :
  • Cassure droite
  • Brisée. Insère une brisure horizontale dans la ligne d'attache qui est alignée au texte. Sélectionnez selon les cas :
    • Utiliser la longueur de la ligne d'attache du document. La longueur de la ligne d'attache est dérivée des paramètres de la page Annotations.
    • Longueur de la ligne d'attache. Vous permet de saisir la longueur de la portion non brisée de la ligne d'attache.

Calque

Calque
Sélectionnez un calque.
Vous devez d'abord créer des calques pour la mise en plan avant de pouvoir les sélectionner comme propriétés de document.
Vous devez sélectionner Selon la norme sous Calque (barre d'outils Calque) dans le document de vue de mise en plan pour appliquer ces paramètres de calque.

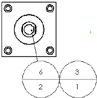
Bulle unique

Style Sélectionnez Aucun pour afficher le texte de bulle sans bordure ou sélectionnez une forme de bulle. La valeur par défaut est Cercle
Cercle Triangle
Hexagone Case
Losange Pentagone
Ligne de séparation circulaire Drapeau - Cinq côtés
Drapeau - Triangle Souligner
Carré Cercle encadré
Inspection Aucun
Taille Sélectionnez une taille (un nombre spécifique de caractères), Au mieux (s'ajuste automatiquement au texte) ou Taille personnalisée (vous définissez la taille de la bulle).

Bulles empilées

Style Sélectionnez une forme de bulle.
Taille

Sélectionnez une taille (un nombre spécifique de caractères), Au mieux (s'ajuste automatiquement au texte) ou Taille personnalisée (définissez la taille de la bulle).

Présentation des bulles automatiques

Sélectionnez une présentation :
  • Bouton balloon_auto_square.png Carré
  • Bouton balloon_auto_bottom.pngBas
  • Bouton balloon_auto_left.png Gauche
  • Bouton balloon_auto_circular.png Circulaire
  • Bouton balloon_auto_top.png Haut
  • Bouton balloon_auto_right.png Droite
Présentation en carré


Faire un commentaire sur cette rubrique

Tous les commentaires concernant la présentation, l'exactitude et l'exhaustivité de la documentation sont les bienvenus. Utilisez le formulaire ci-dessous pour faire parvenir vos commentaires et suggestions directement à notre équipe de documentation. Celle-ci ne peut pas répondre aux questions de support technique. Cliquez ici pour des informations sur le support technique.

* Requis

 
*Courriel:  
Sujet:   Commentaires sur les rubriques d'aide
Page:   Propriétés du document - Bulles
*Commentaire:  
*   Je reconnais avoir pris connaissance et accepter par la présente la politique de confidentialité en vertu de laquelle mes données personnelles seront utilisées par Dassault Systèmes

Rubrique d'impression

Sélectionner l'étendue du contenu à imprimer :

x

La version du navigateur que vous utilisez est antérieure à Internet Explorer 7. Afin d'optimiser l'affichage, nous suggérons d'utiliser Internet Explorer 7 ou une version ultérieure.

 Ne plus afficher ce message
x

Version du contenu de l'aide sur le Web: SOLIDWORKS 2015 SP05

Pour désactiver l'aide sur le Web dans SOLIDWORKS et utiliser l'aide locale à la place, cliquez sur ? > Utiliser l'aide sur le Web de SOLIDWORKS.

Pour signaler tout problème rencontré avec l'interface ou la fonctionnalité de recherche de l'aide sur le Web, contactez votre support technique local. Pour faire part de vos commentaires sur des rubriques d'aide individuelles, utilisez le lien “Commentaires sur cette rubrique” sur la page de la rubrique concernée.