Expand はじめにはじめに
Expand 管理管理
Expand ユーザー インターフェースユーザー インターフェース
Collapse SOLIDWORKS の基礎SOLIDWORKS の基礎
基礎概念
Expand ヘルプ、検索、Web リソースヘルプ、検索、Web リソース
Expand ドキュメントの基本ドキュメントの基本
Collapse SOLIDWORKS オプションの概要SOLIDWORKS オプションの概要
オプション ダイアログ ボックスへのアクセス
Expand システム オプションシステム オプション
Collapse ドキュメント プロパティドキュメント プロパティ
ドキュメント プロパティ - 設計規格
Collapse ドキュメント プロパティ - アノテート アイテムドキュメント プロパティ - アノテート アイテム
ドキュメント プロパティ - 境界
Expand ドキュメント プロパティ - 寸法ドキュメント プロパティ - 寸法
ドキュメント プロパティ - 中心線/中心マーク
DimXpert オプション - 図面
ドキュメント プロパティ - 仮想線の表示
Expand ドキュメント プロパティ - テーブルドキュメント プロパティ - テーブル
Expand ドキュメント プロパティ - ビュードキュメント プロパティ - ビュー
ドキュメント プロパティ - 詳細設定
ドキュメント プロパティ - 図面シート
ドキュメント プロパティ - グリッド/スナップ
ドキュメント プロパティ - 単位
ドキュメント プロパティ - 線のフォント
ドキュメント プロパティ - 線の太さ
ドキュメント プロパティ - モデル表示
ドキュメント プロパティ - 材料特性
ドキュメント プロパティ - イメージ解像度
ドキュメント プロパティ - 板金
ドキュメント プロパティ - 溶接
ドキュメント プロパティ - 平面表示
ドキュメント プロパティ - コンフィギュレーション
Expand ドキュメント プロパティ - DimXpertドキュメント プロパティ - DimXpert
Expand 表示タイプ表示タイプ
Expand 選択選択
Expand ファイルのプロパティファイルのプロパティ
Expand 測定ツール測定ツール
Expand センサーセンサー
Expand 関係式関係式
ミラーおよび反対側のあいまい性の除去
特定業種向けの設計ツール
Xperts の概要
アドイン
Expand オブジェクトのリンクと埋め込みオブジェクトのリンクと埋め込み
Expand マクロの記録と実行マクロの記録と実行
SOLIDWORKS API
Expand  SOLIDWORKS タスク スケジューラ SOLIDWORKS タスク スケジューラ
Expand タスクタスク
Expand オプションオプション
SOLIDWORKS について
Expand 2D から 3D へ移行2D から 3D へ移行
Expand アセンブリアセンブリ
Expand CircuitWorksCircuitWorks
Expand コンフィギュレーションコンフィギュレーション
Expand SOLIDWORKS CostingSOLIDWORKS Costing
Expand Design CheckerDesign Checker
Expand SOLIDWORKS のデザイン スタディSOLIDWORKS のデザイン スタディ
Expand 詳細設定と図面詳細設定と図面
Expand DFMXpressDFMXpress
Expand DriveWorksXpressDriveWorksXpress
Expand FloXpressFloXpress
Expand SLDXML データ交換SLDXML データ交換
Expand インポート/エクスポートインポート/エクスポート
Expand モデル表示モデル表示
Expand モールド設計モールド設計
Expand モーション スタディモーション スタディ
Expand 部品とフィーチャー 部品とフィーチャー
Expand ルーティングルーティング
Expand 板金板金
Expand シミュレーションシミュレーション
Expand SimulationXpressSimulationXpress
Expand スケッチングスケッチング
Expand SOLIDWORKS MBD SOLIDWORKS MBD
Expand SOLIDWORKS UtilitiesSOLIDWORKS Utilities
Expand SOLIDWORKS SustainabilitySOLIDWORKS Sustainability
Expand 公差公差
Expand TolAnalystTolAnalyst
Expand ToolboxToolbox
Expand 溶接溶接
Expand Workgroup PDMWorkgroup PDM
Expand トラブルシューティングトラブルシューティング
用語集
目次を表示しない

ドキュメント プロパティ - バルーン(Document Properties - Balloons)

バルーン アノテート アイテムのドキュメント レベルのドラフト設定を指定できます。これらの設定は PropertyManager を使用して上書きすることができます。すべてのドキュメント タイプで利用できます。

このページを開くには:

図面を開いたまま、オプション (標準ツールバー)をクリックしてドキュメント プロパティ タブを選択し、次に アノテート アイテム(Annotations) > バルーン(Balloons) を選択します。

全体的な設計規格

全体的な設計規格 選択した設計規格ページの設定が継承されます。

ベース バルーン規格

ベース バルーン規格
規格を選択します:
  • ANSI
  • ISO
  • DIN
  • JIS
  • BSI
  • GOST
  • GB

引出線のスタイル

引出線スタイル 次を選択します: 任意のスタイルを選択します。
引出線幅 次を選択します: 太さを選択するか、ユーザー定義サイズを選択して太さを入力します。

フレーム スタイル

フレーム スタイル テキストの周囲の形状のスタイルを設定します。
フレーム厚み 次を選択します: 太さを選択するか、ユーザー定義サイズを選択して太さを入力します。

テキスト

フォント(Font)

クリックし、フォントを変更します。

中線のあるバルーンの上部で、またはすべてのバルーン タイプで次を選択します:
  • テキスト
  • 部品番号
  • Quantity
  • ユーザー定義プロパティ(Custom Properties)
バルーンや積重ねバルーンに適用します。
外側 中線のあるバルーンの下部で次を選択します:
  • テキスト
  • 部品番号
  • Quantity
  • ユーザー定義プロパティ(Custom Properties)

引出線表示

引出線表示 次から選択します:
  • 直線
  • 折れ線。 テキストに整列された引出線に平行な折れを入れます。 どちらか1つを選択します:
    • ドキュメントの引出線長さを使用アノテート アイテム (Annotations) ページの設定の引出線長さを使用します。
    • 引出線の長さ 折れ線の直線部分の長さを入力します。

Layer

Layer
レイヤーを選択します。
レイヤーは、図面プロパティ用に選択する前に図面で作成する必要があります。
これらのレイヤー設定を適用するには、図面ビュー ドキュメントで規格に従う(Per Standard)をレイヤー(Layer)(レイヤー ツールバー)で選択する必要があります。

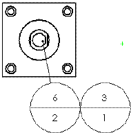
単一バルーン(Single balloon)

スタイル なし(None)を選択して枠のないバルーンを表示するか、バルーンのスタイルを選択します。デフォルトは 円形(Circular)です。
円形 三角形
六角形 ボックス
ひし形 五角形
円形中線 フラッグ - 五角形
フラッグ - 三角形 下線
矩形 四角い円
検査 なし
サイズ(Size) サイズを選択(指定の文字数)、テキストにフィット(Tight Fit)(テキストに自動的に調整が加えられ)を選択、あるいはユーザー定義サイズ(Custom Size)(バルーン サイズを設定できます)を選択します。

積み重ねバルーン(Stacked balloons)

スタイル バルーンの形を選択します。
サイズ(Size)

サイズを選択(指定の文字数)、テキストにフィット(Tight Fit)(テキストに自動的に調整が加えられ)を選択、あるいはユーザー定義サイズ(Custom Size)(バルーン サイズを設定できます)を選択します。

自動バルーンのレイアウト

レイアウトを選択します:
  • balloon_auto_square.png ボタン 矩形(Square)
  • balloon_auto_bottom.png ボタン 底面
  • balloon_auto_left.png ボタン 左(Left)
  • balloon_auto_circular.png ボタン 円形
  • balloon_auto_top.png ボタン トップ(Top)
  • balloon_auto_right.png ボタン 右(Right)
矩形のレイアウト


トピックについてフィードバックを送信

ヘルプに関してフィードバックを送信することができます。しかし、ドキュメンテーション グループはテクニカル サポートに関する質問に答えることはできません。 テクニカル サポートに関する情報はここをクリックしてください

* 必要項目

 
*電子メール:  
件名:   トピックのフィードバック
ページ:   ドキュメント プロパティ - バルーン(Document Properties - Balloons)
*コメント:  
*   プライバシー ポリシーを読み、個人情報が Dassault Systèmes によって使用されることに同意します。

トピックの印刷

印刷するコンテンツの範囲を選択:

x

Internet Explorer 7 より古いブラウザ バージョンが検知されました。 表示を最適化するにはInternet Explorer 7 以上のブラウザ バージョンにアップグレードしてください。

 今後このメッセージを表示しない
x

Web ヘルプ コンテンツ バージョン: SOLIDWORKS 2016 SP05

SOLIDWORKS で Web ヘルプを無効にして、ローカル ヘルプを使用するには、ヘルプ > SOLIDWORKS Web ヘルプ使用 をクリックしてください。

Web ヘルプのインタフェースや検索機能に関する問題は、お客様のサポート担当者までご連絡ください。各トピック ページの「トピックについてフィードバックする」リンクを使用し、各ヘルプ トピックについてフィードバックを送信することもできます。