Expand IntroductionIntroduction
Expand AdministrationAdministration
Expand Interface utilisateurInterface utilisateur
Expand Fonctions de base de SOLIDWORKSFonctions de base de SOLIDWORKS
Expand Migrer de la 2D à la 3DMigrer de la 2D à la 3D
Expand AssemblagesAssemblages
Expand CircuitWorksCircuitWorks
Expand ConfigurationsConfigurations
Expand SOLIDWORKS CostingSOLIDWORKS Costing
Expand Design CheckerDesign Checker
Expand Etudes de conception dans SOLIDWORKSEtudes de conception dans SOLIDWORKS
Collapse Habillage et mises en planHabillage et mises en plan
Expand DFMXpressDFMXpress
Expand DriveWorksXpressDriveWorksXpress
Expand FloXpressFloXpress
Expand Echange de données SLDXMLEchange de données SLDXML
Expand Opérations d'import et d'exportOpérations d'import et d'export
Expand Affichage du modèleAffichage du modèle
Expand Conception de moulesConception de moules
Expand Etudes de mouvementEtudes de mouvement
Expand Pièces et fonctionsPièces et fonctions
Expand RoutageRoutage
Expand TôlerieTôlerie
Expand SimulationSimulation
Expand SimulationXpressSimulationXpress
Expand EsquisseEsquisse
Expand SOLIDWORKS MBDSOLIDWORKS MBD
Expand SOLIDWORKS UtilitiesSOLIDWORKS Utilities
Expand SOLIDWORKS SustainabilitySOLIDWORKS Sustainability
Expand TolérancementTolérancement
Expand TolAnalystTolAnalyst
Expand ToolboxToolbox
Expand Constructions soudéesConstructions soudées
Expand Workgroup PDMWorkgroup PDM
Expand DépannageDépannage
Glossaire
Masquer le sommaire

Définition des options pour les axes de centrage

Pour définir les options des axes de centrage:

  1. Cliquez sur Options Tool_Options_Standard.gif et sélectionnez Lignes de constructions/Axes de centrage dans l'onglet Propriétés du document.
  2. Sous Axes de centrage :
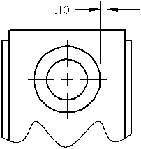
    1. Entrez une valeur pour Taille. Taille contrôle la longueur de dépassement de l'axe de centrage par rapport à l'arête du modèle et la taille du symbole de point au centre.
      cline_cmark_size.gif
    2. Saisissez une valeur d'Ecart. Ecart contrôle la distance entre l'axe de centrage et la ligne prolongée. Ecart est disponible lorsque l'option Mise à l'échelle d'après l'échelle de la vue est désactivée.

    3. Activez ou désactivez les cases à cocher pour Mise à l'échelle d'après l'échelle de la vue, Lignes prolongées et Police des lignes de construction.
  3. Sous Axes de centrage des rainures, sélectionnez Orienter par rapport à la rainure ou Orienter par rapport à la feuille et sélectionnez une option d'emplacement pour l'axe de centrage des rainures. Ces paramètres déterminent la façon dont les rainures droites ou courbes sont créées.
  4. Sélectionnez Habillage dans l'onglet Propriétés du document. Sous Insérer automatiquement lors de la création de la vue, activez ou désactivez la case à cocher :
    • Axes de centrage - perçages - pièce
    • Axes de centrage - congés - pièce
    • Axes de centrage - rainures - pièce
    • Axes de centrage - perçages - assemblage
    • Axes de centrage - congés - assemblage
    • Axes de centrage - rainures - assemblage
    Lorsqu'elle est activée, les axes de centrage sont automatiquement insérés dans tous les cercles, arcs et congés appropriés des nouvelles vues de mise en plan.
  5. Cliquez sur OK.


Faire un commentaire sur cette rubrique

Tous les commentaires concernant la présentation, l'exactitude et l'exhaustivité de la documentation sont les bienvenus. Utilisez le formulaire ci-dessous pour faire parvenir vos commentaires et suggestions directement à notre équipe de documentation. Celle-ci ne peut pas répondre aux questions de support technique. Cliquez ici pour des informations sur le support technique.

* Requis

 
*Courriel:  
Sujet:   Commentaires sur les rubriques d'aide
Page:   Définition des options pour les axes de centrage
*Commentaire:  
*   Je reconnais avoir pris connaissance et accepter par la présente la politique de confidentialité en vertu de laquelle mes données personnelles seront utilisées par Dassault Systèmes

Rubrique d'impression

Sélectionner l'étendue du contenu à imprimer :

x

La version du navigateur que vous utilisez est antérieure à Internet Explorer 7. Afin d'optimiser l'affichage, nous suggérons d'utiliser Internet Explorer 7 ou une version ultérieure.

 Ne plus afficher ce message
x

Version du contenu de l'aide sur le Web: SOLIDWORKS 2017 SP05

Pour désactiver l'aide sur le Web dans SOLIDWORKS et utiliser l'aide locale à la place, cliquez sur ? > Utiliser l'aide sur le Web de SOLIDWORKS.

Pour signaler tout problème rencontré avec l'interface ou la fonctionnalité de recherche de l'aide sur le Web, contactez votre support technique local. Pour faire part de vos commentaires sur des rubriques d'aide individuelles, utilisez le lien “Commentaires sur cette rubrique” sur la page de la rubrique concernée.