Expand GirişGiriş
Expand YönetimYönetim
Expand Kullanıcı ArayüzüKullanıcı Arayüzü
Collapse SOLIDWORKS TemelleriSOLIDWORKS Temelleri
Temel Kavramlar
Temel Komutlar: Kes, Kopyala, Yapıştır, Geri Al ve Yinele
Expand Yardım, Arama ve Web KaynaklarıYardım, Arama ve Web Kaynakları
Expand Belge Temel İşlemleriBelge Temel İşlemleri
Collapse SOLIDWORKS Seçeneklerine Genel BakışSOLIDWORKS Seçeneklerine Genel Bakış
Expand GörüntüGörüntü
Expand SeçimSeçim
Expand Dosya ÖzellikleriDosya Özellikleri
Expand Ölçüm AracıÖlçüm Aracı
Expand SensörlerSensörler
Expand DenklemlerDenklemler
Aynalama ve Karşı Taraf Netleştirme
Expand Endüstriye Özel Tasarım AraçlarıEndüstriye Özel Tasarım Araçları
Xperts'e Genel Bakış
Eklentiler
SOLIDWORKS Hızlı Başlangıç
Expand Nesne Bağlama ve GömmeNesne Bağlama ve Gömme
Expand Makro Kaydetmek ve YürütmekMakro Kaydetmek ve Yürütmek
Önceki Sürümlerdeki Gelecek Sürüm Bileşenleri
SOLIDWORKS API
Expand  SOLIDWORKS Görev Zamanlayıcı SOLIDWORKS Görev Zamanlayıcı
Expand GörevlerGörevler
Expand SeçeneklerSeçenekler
SOLIDWORKS Hakkında
Expand 2B'den 3B'ye geçiş2B'den 3B'ye geçiş
Expand MontajlarMontajlar
Expand CircuitWorksCircuitWorks
Expand KonfigürasyonlarKonfigürasyonlar
Expand SOLIDWORKS CostingSOLIDWORKS Costing
Expand Design CheckerDesign Checker
Expand SOLIDWORKS'te Tasarım EtütleriSOLIDWORKS'te Tasarım Etütleri
Expand Detaylandırma ve Teknik ResimlerDetaylandırma ve Teknik Resimler
Expand DFMXpressDFMXpress
Expand DriveWorksXpressDriveWorksXpress
Expand FloXpressFloXpress
Expand SLDXML Veri DeğişimiSLDXML Veri Değişimi
Expand Al ve VerAl ve Ver
Expand Model GörünümüModel Görünümü
Expand Kalıp TasarımıKalıp Tasarımı
Expand Hareket EtütleriHareket Etütleri
Expand Parçalar ve UnsurlarParçalar ve Unsurlar
Expand TesisatTesisat
Expand Sac LevhaSac Levha
Expand SimülasyonSimülasyon
Expand SimulationXpressSimulationXpress
Expand ÇizmeÇizme
Expand SOLIDWORKS MBDSOLIDWORKS MBD
Expand SOLIDWORKS UtilitiesSOLIDWORKS Utilities
Expand SOLIDWORKS SustainabilitySOLIDWORKS Sustainability
Expand ToleranslamakToleranslamak
Expand TolAnalystTolAnalyst
Expand ToolboxToolbox
Expand Kaynaklı MontajlarKaynaklı Montajlar
Expand Workgroup PDMWorkgroup PDM
Expand Sorun GidermeSorun Giderme
Terimler
İçindekiler'i Gizle

Belge Özellikleri - Balonlar

Balon detaylandırmaları için belge düzeyinde draft ayarları belirtebilirsiniz. Bu ayarları PropertyManager'da geçersiz kılabilirsiniz. Tüm belge türlerinde kullanılabilir.

Bu sayfayı açmak için:

Bir teknik resim açıkken Seçenekler öğesine (Standart araç çubuğu) tıklayın, Belge Özellikleri sekmesini ve ardından Detaylandırmalar > Balonlar öğesini seçin.

Genel draft standardı

Genel draft standardı Seçili Draft Standardı sayfası ayarlarından devralınır.

Taban balon standardı

Taban balon standardı
Bir standart seç:
  • ANSI
  • ISO
  • DIN
  • JIS
  • BSI
  • GOST
  • GB

Lider stili

Lider Stili Seçin: bir stil.
Lider Kalınlığı Seçin: Bir kalınlık seçin veya Özel Boyut'u seçin ve bir kalınlık girin.

Çerçeve stili

Çerçeve Stili Metni saran şeklin stilini ayarlar.
Çerçeve Kalınlığı Seçin: Bir kalınlık seçin veya Özel Boyut'u seçin ve bir kalınlık girin.

Metin

Yazı Tipi

Yazı tipini değiştirmek için tıklayın.

Üst Dairesel ayrım çizgisi balonlarının üst bölümü veya tüm diğer balon tipleri için, şunları seçin:
  • Metin
  • Öğe Numarası
  • Miktar
  • Uyarlanmış Özellikler
Üst tek ve yığılmış balonlara uygulanır.
Alt Dairesel ayrım çizgisi balonlarının alt bölümü için, şunları seçin:
  • Metin
  • Öğe Numarası
  • Miktar
  • Uyarlanmış Özellikler

Lider görünümü

Lider görünümü Aşağıdakiler arasından seçim yapın:
  • Düz
  • Bükülü. Lideremetin ile hizalanmıl yatay bir büküm ekler. Birini seçin:
    • Belge lider uzunluğunu kullan Lider uzunluğunu Detaylandırmalar sayfa ayarlarından türetir.
    • Lider uzunluğu. Liderin bükülmemiş kısmının uzunluğunu girmenize izin verir.

Katman

Katman
Bir katman seçin.
Teknik resim katmanlarını, belge özellikleri için seçmeden önce oluşturmalısınız.
Teknik resim görünümü belgesinde, bu katman ayarlarını uygulamak için Katman (Katman araç çubuğu) için Standart Başına öğesini seçmelisiniz.

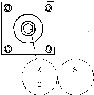
Tek balon

Stil Sınırı olmayan balon metnini görüntülemek için Hiçbiri öğesini seçin veya bir balon şekli seçin. Varsayılan ayar, Dairesel ayarıdır
Dairesel Üçgen
Altıgen Kutu
Baklava Beşgen
Dairesel Ayrım Çizgisi Bayrak - Beş Kenarlı
Bayrak - Üçgen Altı Çizili
Kare Kare Daire
Denetle Hiçbiri
Boyut Bir boyut (belirtilen karakter sayısı), Sıkı Sığdır'ı (metne otomatik olarak sığdırır) veya Özel Boyut'u (balon boyutunu siz belirlersiniz) seçin.

Yığılmış balonlar

Stil Bir balon şekli seçin.
Boyut

Bir boyut (belirtilen karakter sayısı), Sıkı Sığdır'ı (metne otomatik olarak sığdırır) veya Özel Boyut'u seçin (balon boyutunu siz belirlersiniz) seçin.

Otomatik balon yerleşimi

Bir yerleşim seçin:
  • balloon_auto_square.png Düğmesi Kare
  • balloon_auto_bottom.png Düğmesi Alt
  • balloon_auto_left.png Düğmesi Sol
  • balloon_auto_circular.png Düğmesi Dairesel
  • balloon_auto_top.png Düğmesi Üst
  • balloon_auto_right.png Düğmesi Sağ
Kare yerleşim


Bu başlık hakkında geribildirimde bulunun

SOLIDWORKS; dokümantasyonun sunumu, doğruluğu ve bütünlüğü hakkında geribildiriminizi almaktan memnuniyet duyar. Bu başlık ile ilgili yorum ve önerilerinizi, aşağıdaki formu kullanarak doğrudan dokümantasyon takımımıza yollayın. Dokümantasyon takımı teknik destek sorularına yanıt veremez. Teknik destek ile ilgili bilgiler için buraya tıklayın.

* Gerekli

 
*Email:  
Konu:   Yardım Başlıkları Hakkında Geribildirim
Sayfa:   Belge Özellikleri - Balonlar
*Yorum:  
*   Kişisel Bilgilerimin Dassault Systèmes tarafından kullanılacağının belirtildiği gizlilik politikasını okuduğumu ve kabul ettiğimi onaylıyorum

Yazdırma Başlığı

Yazdırılacak içeriğin kapsamını seçin:

x

Internet Explorer 7'den daha eski bir tarayıcı sürümünü kullandığınızı tespit ettik. Optimize edilmiş görünüm için tarayıcınızı Internet Explorer 7 veya daha yenisine yükseltmenizi öneririz.

 Bu mesajı bir daha asla gösterme
x

Web Yardım İçerik Sürümü: SOLIDWORKS 2017 SP05

SOLIDWORKS içindeki Web yardımını devre dışı bırakmak ve onun yerine yerel yardımı kullanmak için Yardım > SOLIDWORKS Web Yardımını Kullan öğelerine tıklayın.

Web yardımı arabirimi ve araması ile ilgili karşılaştığınız sorunları lütfen yerel destek temsilcinize bildirin. Yardım başlıkları hakkında ayrı ayrı geri bildirimde bulunmak için ilgili başlığın sayfasından "Bu başlık hakkında geribildirim" bağlantısına tıklayın.