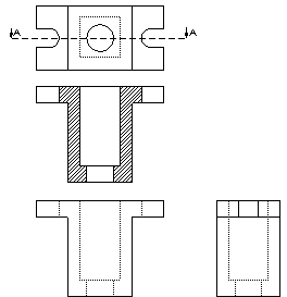
2D Drafting Overview This overview lists typical 2D drafting tasks and applicable SOLIDWORKS solutions. The tasks and solutions show how to create the following drawing. See how to create this drawing from a 3D model. Detailing and annotation tools are not used in this overview. For a step-by-step tutorial that highlights the SOLIDWORKS detailing and annotation tools, see the Advanced Drawings tutorial by clicking Help > SOLIDWORKS Tutorials > All SOLIDWORKS Tutorials. Task CategoriesCreating a front view. Creating a top view by projecting a front view. Creating a right view by projecting a front and top view. Adding a slot to the top view. Projecting the slot to the front and right views. Creating a section view from the front view. Creating a front View Tasks Solutions Create the horizontal edges of the drawing view. Sketch the bottom horizontal line with the Line tool and use the Offset Entities tool to create additional edges. Create the vertical edges of the drawing view. Sketch a symmetry line with the Centerline tool and use the Offset Entities tool to offset the centerline bi-directionally. Delete excess sketch entities. Use the Trim Entities tool with the corner and power trim options. Corner Power trim: click-click method Video: Trimming Corners With Trim Entities Video: Using Power Trim Click-Click Method Power trim: drag method Video: Using Power Trim Drag Method Change line styles to indicate hidden holes. Use the Line Style tool to change lines from solid to dashed. Return to task categories Creating a top view by projecting a front view Before (front view) After (front and top views) Tasks Solutions Align the top view with the front view. Sketch vertical infinite lines as projection lines with the Line tool. Video: Sketching Vertical Infinite Lines as Projection Lines Create the horizontal edges of the drawing view. Sketch a horizontal symmetry line with the Centerline tool to define the middle of the drawing view. Offset the centerline with the Offset Entities tool to create additional edges of the drawing view. Delete excess sketch entities. Use the Trim Entities tool with the trim away outside, corner, and power trim options. Trim away outside Corner Power trim Video: Trimming Away Outside Entities Create a hole in the center of the drawing. Use the Circle and Midpoint Snap tools to create a hole that snaps to the center of the drawing. Video: Sketching a Circle that Snaps to the Center of the Drawing Midpoint snap Circle Delete excess lines. Hold down Ctrl to select multiple lines and press Delete. Change line styles to indicate hidden holes. Use the Line Style tool to change lines from solid to dashed. Return to task categories Creating a right view by projecting a front and top view Before (front and top views) After (front, top, and right views) Tasks Solutions Align the right view with the front and top views. Use horizontal infinite lines as projection lines. Create the vertical edges of the drawing view. Rotate the projection lines (from the top view) -90° with the Rotate Entities tool. Video: Rotating Entities Delete excess sketch entities. Use the Trim Entities tool with the trim away outside, power trim, and corner options. Trim away outside Power trim Corner Change line styles to indicate hidden holes. Use the Line Style tool to change lines from solid to dashed. Return to task categories Adding a slot to the top view Before (top view) After (top view) Tasks Solutions Center the slot in the view. Use the Centerline tool to create horizontal and vertical construction lines. Create the horizontal edges of the slot. Use the Offset Entities tool to offset the centerlines. Delete excess sketch entities. Use the Trim Entities tool with the power trim option. Create an arc to enclose the slot. Use the Tangent Arc tool. Delete excess sketch entities. Use the Trim Entities tool with the power trim option. Create a symmetric slot on the opposite side of the drawing view. Delete the vertical edge of the opposite side of the drawing view (to create a space for the slot), then use the Mirror Entities tool to mirror the slot. Video: Mirroring Entities Return to task categories Projecting the slot to the front and right views Before (front, top, and right views) After (front, top, and right views) Tasks Solutions Align the slot from the top view with the front view. Use vertical infinite lines as projection lines. Change line styles to indicate hidden slots. Use the Line Style tool to change lines from solid to dashed. Delete excess sketch entities. Use the Trim Entities tool with the power trim option. Align the slot from the top view with the right view. Sketch horizontal infinite lines as projection lines, then rotate the lines -90° with the Rotate Entities tool. Video: Rotating Projection Lines Delete excess sketch entities. Use the Trim Entities tool with the power trim option. Return to task categories Creating a section view from the front view Before (front view) After (section view) Tasks Solutions Delete the extra line in the drawing view to create a cross-section. Use the Trim Entities tool with the power trim option. Change line styles so that hidden holes and slots are shown. Use the Line Style tool to change lines from solid to dashed. Create a hatch pattern to indicate solid areas of the drawing view. Use the Area Hatch/Fill tool to apply crosshatch sections. Video: Applying Crosshatch Sections Return to task categories Parent topicIndustry-Specific Design Tools Related concepts Machine Design Tools Overview Mold Design Tools Overview Tool and Die Design Tools Overview Create a Drawing from a 3D Model With a 3D model, you can create the same drawing in two steps. Tasks Solutions Create front, top, and right views. In a new drawing sheet, with the Drawing Toolbar displayed, select Standard 3 View and browse for the part document in the Standard 3 View PropertyManager. Create a section view. In the drawing document, use the Section View tool to create a section view from the top view. Cross-hatching is automatically applied to section views.
2D Drafting Overview This overview lists typical 2D drafting tasks and applicable SOLIDWORKS solutions. The tasks and solutions show how to create the following drawing. See how to create this drawing from a 3D model. Detailing and annotation tools are not used in this overview. For a step-by-step tutorial that highlights the SOLIDWORKS detailing and annotation tools, see the Advanced Drawings tutorial by clicking Help > SOLIDWORKS Tutorials > All SOLIDWORKS Tutorials. Task CategoriesCreating a front view. Creating a top view by projecting a front view. Creating a right view by projecting a front and top view. Adding a slot to the top view. Projecting the slot to the front and right views. Creating a section view from the front view. Creating a front View Tasks Solutions Create the horizontal edges of the drawing view. Sketch the bottom horizontal line with the Line tool and use the Offset Entities tool to create additional edges. Create the vertical edges of the drawing view. Sketch a symmetry line with the Centerline tool and use the Offset Entities tool to offset the centerline bi-directionally. Delete excess sketch entities. Use the Trim Entities tool with the corner and power trim options. Corner Power trim: click-click method Video: Trimming Corners With Trim Entities Video: Using Power Trim Click-Click Method Power trim: drag method Video: Using Power Trim Drag Method Change line styles to indicate hidden holes. Use the Line Style tool to change lines from solid to dashed. Return to task categories Creating a top view by projecting a front view Before (front view) After (front and top views) Tasks Solutions Align the top view with the front view. Sketch vertical infinite lines as projection lines with the Line tool. Video: Sketching Vertical Infinite Lines as Projection Lines Create the horizontal edges of the drawing view. Sketch a horizontal symmetry line with the Centerline tool to define the middle of the drawing view. Offset the centerline with the Offset Entities tool to create additional edges of the drawing view. Delete excess sketch entities. Use the Trim Entities tool with the trim away outside, corner, and power trim options. Trim away outside Corner Power trim Video: Trimming Away Outside Entities Create a hole in the center of the drawing. Use the Circle and Midpoint Snap tools to create a hole that snaps to the center of the drawing. Video: Sketching a Circle that Snaps to the Center of the Drawing Midpoint snap Circle Delete excess lines. Hold down Ctrl to select multiple lines and press Delete. Change line styles to indicate hidden holes. Use the Line Style tool to change lines from solid to dashed. Return to task categories Creating a right view by projecting a front and top view Before (front and top views) After (front, top, and right views) Tasks Solutions Align the right view with the front and top views. Use horizontal infinite lines as projection lines. Create the vertical edges of the drawing view. Rotate the projection lines (from the top view) -90° with the Rotate Entities tool. Video: Rotating Entities Delete excess sketch entities. Use the Trim Entities tool with the trim away outside, power trim, and corner options. Trim away outside Power trim Corner Change line styles to indicate hidden holes. Use the Line Style tool to change lines from solid to dashed. Return to task categories Adding a slot to the top view Before (top view) After (top view) Tasks Solutions Center the slot in the view. Use the Centerline tool to create horizontal and vertical construction lines. Create the horizontal edges of the slot. Use the Offset Entities tool to offset the centerlines. Delete excess sketch entities. Use the Trim Entities tool with the power trim option. Create an arc to enclose the slot. Use the Tangent Arc tool. Delete excess sketch entities. Use the Trim Entities tool with the power trim option. Create a symmetric slot on the opposite side of the drawing view. Delete the vertical edge of the opposite side of the drawing view (to create a space for the slot), then use the Mirror Entities tool to mirror the slot. Video: Mirroring Entities Return to task categories Projecting the slot to the front and right views Before (front, top, and right views) After (front, top, and right views) Tasks Solutions Align the slot from the top view with the front view. Use vertical infinite lines as projection lines. Change line styles to indicate hidden slots. Use the Line Style tool to change lines from solid to dashed. Delete excess sketch entities. Use the Trim Entities tool with the power trim option. Align the slot from the top view with the right view. Sketch horizontal infinite lines as projection lines, then rotate the lines -90° with the Rotate Entities tool. Video: Rotating Projection Lines Delete excess sketch entities. Use the Trim Entities tool with the power trim option. Return to task categories Creating a section view from the front view Before (front view) After (section view) Tasks Solutions Delete the extra line in the drawing view to create a cross-section. Use the Trim Entities tool with the power trim option. Change line styles so that hidden holes and slots are shown. Use the Line Style tool to change lines from solid to dashed. Create a hatch pattern to indicate solid areas of the drawing view. Use the Area Hatch/Fill tool to apply crosshatch sections. Video: Applying Crosshatch Sections Return to task categories Parent topicIndustry-Specific Design Tools Related concepts Machine Design Tools Overview Mold Design Tools Overview Tool and Die Design Tools Overview Create a Drawing from a 3D Model With a 3D model, you can create the same drawing in two steps. Tasks Solutions Create front, top, and right views. In a new drawing sheet, with the Drawing Toolbar displayed, select Standard 3 View and browse for the part document in the Standard 3 View PropertyManager. Create a section view. In the drawing document, use the Section View tool to create a section view from the top view. Cross-hatching is automatically applied to section views.
Create a Drawing from a 3D Model With a 3D model, you can create the same drawing in two steps. Tasks Solutions Create front, top, and right views. In a new drawing sheet, with the Drawing Toolbar displayed, select Standard 3 View and browse for the part document in the Standard 3 View PropertyManager. Create a section view. In the drawing document, use the Section View tool to create a section view from the top view. Cross-hatching is automatically applied to section views.