Examples: Section View with Offset

These examples illustrate adding offsets to a cutting line.

Arc Offset

  1. Locate a horizontal cutting line Cutting-line-Horizontal.png.
    section-arc-offset-1.gif
  2. Add an arc offset sectionxpert-arc-offset.png.
    section-arc-offset-2.gif section-arc-offset-3.gif

    First point on cutting line to start arc offset

    Second point on geometry to set angle of the offset

  3. Final section view
    section-arc-offset-complete.gif

Single Offset

  1. Locate a vertical cutting line Cutting-line-Vertical.png.
    section-single-offset-1-U.gif
  2. Add a single offset sectionxpert-single-offset.png.
    section-single-offset-2-U.gif section-single-offset-3-U.gif

    First point on cutting line to start single offset

    Second point on geometry to set depth of the offset

  3. Final section view
    section-single-offset-complete-U.gif

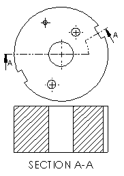
Notch Offset

  1. Locate a horizontal cutting line Cutting-line-Horizontal.png.
    section-notch-offset-1.gif
  2. Add a notch offset sectionxpert-notch-offset.png.
    section-notch-offset-2.gif section-notch-offset-3.gif

    First point on cutting line to start notch offset

    Second point on cutting line to set length of the offset

    section-notch-offset-4.gif  

    Third point on geometry to set depth of the offset

     
  3. Final section view
    section-notch-offset-complete.gif