문서 속성 - 부품번호

부품번호 주석의 문서 수준 제도 설정을 지정할 수 있습니다. PropertyManager에서 이 설정을 무시하고 다시 정의할 수 있습니다. 모든 문서 유형에 사용할 수 있습니다.

이 페이지를 여는 방법

도면을 연 상태에서 옵션 (표준 도구 모음)을(를) 클릭하고 문서 속성 탭을 선택한 다음 주석 > 부품 번호을(를) 선택합니다.

일반 제도 표준


일반 제도 표준 선택한 제도 표준 페이지 설정을 사용합니다.

기본 부품번호 규격

기본 부품번호 규격
규격 선택:
  • ANSI
  • Iso
  • DIN
  • JIS
  • Bsi
  • GOST
  • GB

지시선 유형


지시선 유형 다음에서 선택합니다. 유형
지시선 두께 다음에서 선택합니다. 두께를 선택하거나 사용자 정의 크기를 선택하고 원하는 두께를 입력합니다.

프레임 유형


프레임 유형 문자를 감싸는 모양의 유형을 설정합니다.
프레임 두께 다음에서 선택합니다. 두께를 선택하거나 사용자 정의 크기를 선택하고 원하는 두께를 입력합니다.

문자


글꼴

글꼴을 수정하기 위해 클릭합니다.


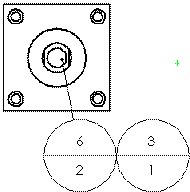
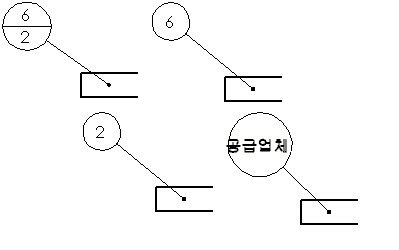
분할원 부품번호 유형의 상단 부분 또는 모든 다른 유형의 전체 부품번호의 경우 다음을 선택:
  • 텍스트
  • 항목 번호
  • 수량
  • 사용자정의 속성
는 단일 부품번호와 일렬 부품번호에 적용합니다.
아래 분할원 부품번호 유형의 하단 부분의 경우 다음을 선택:
  • 텍스트
  • 항목 번호
  • 수량
  • 사용자정의 속성

지시선 표시


지시선 표시 다음 옵션에서 선택합니다:
  • 직선형(S)
  • 굽은형. 수평 굽힙선이 있는 지시선을 삽입합니다.(문자와 정렬) 다음 중에서 선택합니다.
    • 문서 지시선 길이 사용. 주석 페이지 설정에서 지시선 길이가 파생됩니다.
    • 지시선 길이. 지시선의 구부러지지 않은 부분의 길이를 입력할 수 있습니다.

레이어


레이어
레이어를 선택합니다.
문서 속성에서 레이어를 선택할 수 있으려면, 도면에 먼저 레이어를 작성해야만 합니다.

이 레이어 설정을 적용하려면, 도면뷰의 표준 규격대로 (레이어 도구 모음)로 표준 규격대로를 선택해야 합니다.

단일 부품 번호

유형 없음을 선택하여 부품번호 텍스트를 테두리 없이 표시하거나, 원하는 부품번호 모양을 선택합니다. 기본값은 원형 입니다.
원형 삼각형 프로파일
육각형 사각형
다이아몬드 오각형
분할원 깃발-오각형
깃발-삼각형 밑줄
사각형 사각형 원
검사 없음
크기 크기 (지정된 문자의 수), 끼워 맞춤 (자동으로 문자에 맞게 조정), 또는 사용자정의 크기 (부품번호의 크기 직접 지정)를 선택합니다.

일렬 부품 번호

유형 부품번호 모양을 선택합니다.
크기

크기 (지정된 문자의 수), 끼워 맞춤 (자동으로 문자에 맞게 조정), 또는 사용자정의 크기 (부품번호의 크기 직접 지정)를 선택합니다.

자동 부품번호 배열

레이아웃을 선택합니다.
  • balloon_auto_square.png 버튼 사각형
  • balloon_auto_bottom.png 버튼 아랫면
  • balloon_auto_left.png 버튼 좌측면
  • balloon_auto_circular.png 버튼 원형
  • balloon_auto_top.png 버튼 위쪽
  • balloon_auto_right.png 버튼 우측면
사각형 배열