Örnekler: Ötelemeli Kesit Görünümü

Bu örneklerde kesme çizgisine öteleme ekleme gösterilmektedir.

Yay Öteleme

  1. Yatay kesme çizgisi Cutting-line-Horizontal.png bulun.
    section-arc-offset-1.gif
  2. Yay ötelemesi sectionxpert-arc-offset.png ekleyin.
    section-arc-offset-2.gif section-arc-offset-3.gif

    Yay ötelemesi başlatmak için kesme çizgisinin ilk noktası

    Ötelemenin açısını ayarlamak için geometrideki ikinci nokta

  3. Son kesit görünümü
    section-arc-offset-complete.gif

Tek Öteleme

  1. Dikey kesme çizgisi Cutting-line-Vertical.png bulun.
    section-single-offset-1-U.gif
  2. Tek öteleme sectionxpert-single-offset.png ekleyin.
    section-single-offset-2-U.gif section-single-offset-3-U.gif

    Tek öteleme başlatmak için kesme çizgisinin ilk noktası

    Ötelemenin derinliğini ayarlamak için geometrideki ikinci nokta

  3. Son kesit görünümü
    section-single-offset-complete-U.gif

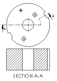
Çentik Öteleme

  1. Yatay kesme çizgisi Cutting-line-Horizontal.png bulun.
    section-notch-offset-1.gif
  2. Çentik öteleme sectionxpert-notch-offset.png ekleyin.
    section-notch-offset-2.gif section-notch-offset-3.gif

    Çentik öteleme başlatmak için kesme çizgisinin ilk noktası

    Ötelemenin uzunluğunu ayarlamak için kesme çizgisindeki ikinci nokta

    section-notch-offset-4.gif  

    Ötelemenin derinliğini ayarlamak için geometrideki üçüncü nokta

     
  3. Son kesit görünümü
    section-notch-offset-complete.gif