設定中心符號線的選項

設定中心符號線的選項:

  1. 按一下選項 Tool_Options_Standard.gif,然後從文件屬性標籤中選擇文件屬性
  2. 中心符號線之下:
    1. 輸入 大小 的值。 大小控制中心符號線延伸超過模型邊線的長度,以及在中心處點符號的大小。
      cline_cmark_size.gif
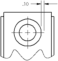
    2. 設定縫隙的值。 縫隙會控制中心符號線與尺寸界線之間的距離。 當依視圖比例縮放為清除狀態時,便可使用縫隙

    3. 選擇或清除依視圖比例縮放延伸線中心線型式的核取方塊。
  3. 狹槽中心符號線之下,選擇定向至狹槽定向至圖頁,然後選擇狹槽中心符號線位置選項。這些設定決定了如何產生直與彎曲的狹槽。
  4. 選擇文件屬性標籤中的尺寸細目。在視圖產生時自動插入之下,選擇或清除以下項目的核取方塊:
    • 中心符號 - 鑽孔 -零件
    • 中心符號 - 圓角 -零件
    • 中心符號 - 狹槽 -零件
    • 中心符號 - 鑽孔 -組合件
    • 中心符號 - 圓角 -組合件
    • 中心符號 - 狹槽 -組合件
    當選取時,中心符號線被自動插入新工程視圖中所有適合的圓、弧、及圓角中。
  5. 按一下確定