例: オフセットの付いた断面図

以下の例では、カット線へのオフセットの追加を示します。

円弧オフセット

  1. 水平のカット線 Cutting-line-Horizontal.png を配置します。
    section-arc-offset-1.gif
  2. 円弧オフセット sectionxpert-arc-offset.png を追加します。
    section-arc-offset-2.gif section-arc-offset-3.gif

    円弧オフセットを開始するカット線の第 1 の点

    オフセットの角度を設定するジオメトリ上の第 2 の点

  3. 最終断面図
    section-arc-offset-complete.gif

単一オフセット

  1. 垂直のカット線 Cutting-line-Vertical.png を配置します。
    section-single-offset-1-U.gif
  2. 単一オフセット sectionxpert-single-offset.png を追加します。
    section-single-offset-2-U.gif section-single-offset-3-U.gif

    単一オフセットを開始するカット線の第 1 の点

    オフセットの深さを設定するジオメトリ条の第 2 の点

  3. 最終断面図
    section-single-offset-complete-U.gif

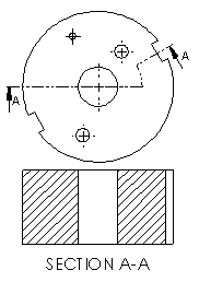
切欠オフセット

  1. 水平のカット線 Cutting-line-Horizontal.png を配置します。
    section-notch-offset-1.gif
  2. 切欠オフセット sectionxpert-notch-offset.png を追加します。
    section-notch-offset-2.gif section-notch-offset-3.gif

    切欠オフセットを開始するカット線の第 1 の点

    オフセットの長さを設定するカット線上の第 2 の点

    section-notch-offset-4.gif  

    オフセットの深さを設定するジオメトリ条の第 3 の点

     
  3. 最終断面図
    section-notch-offset-complete.gif