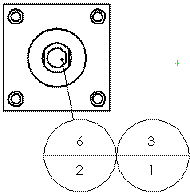
Proprietà del documento - Bollature È possibile specificare le impostazioni di disegno a livello del documento per le annotazioni delle bollature. Queste impostazioni possono essere sovrascritte nel PropertyManager. Disponibile per tutti i tipi di documento. Per aprire questa pagina: Con un disegno aperto, fare clic su Opzioni (barra degli strumenti Standard), selezionare la scheda Proprietà del documento, quindi selezionare Annotazioni > Bollature. Standard di disegno generale Standard di disegno generale Ereditato dalle impostazioni di pagina Standard di disegno selezionate. Standard di bollature base Standard di bollature base Selezionare uno standard: ANSI ISO DIN JIS BSI GOST GB Stile linee di associazione Stile linea di associazione Selezionare: uno stile. Spessore linea di associazione Selezionare: uno spessore o selezionare Dimensione personalizzata ed immettere uno spessore. Stile contorno Stile contorno Imposta lo stile per la sagoma circostante il testo. Spessore contorno Selezionare: uno spessore o selezionare Dimensione personalizzata ed immettere uno spessore. Testo Carattere Fare clic per cambiare il tipo di carattere. Superiore Per la sezione superiore di bollature con linea di divisione circolare, o per tutti gli altri tipi di bollature, selezionare: Testo Numero articolo Quantità Proprietà personalizzate Superiore si applica alle bollature singole e impilate. Inferiore Per la sezione inferiore delle bollature con linea di divisione circolare, selezionare: Testo Numero articolo Quantità Proprietà personalizzate Visualizzazione linea di associazione Visualizzazione linea di associazione Effettuare una selezione da: Lineare Piegata. Inserisce una piegatura orizzontale nella linea di associazione che è allineata con il testo. Selezionare: Usa lunghezza linea di associazione del documento. Deriva la lunghezza della linea di associazione dalle impostazioni della pagina Annotazioni. Lunghezza della linea di associazione. Impostare la lunghezza della porzione non piegata della linea di associazione. Livello Livello Selezionare un livello. Creare anzitutto i livelli del disegno prima di selezionarli per le proprietà del documento. È necessario selezionare Per standard in Livello (barra degli strumenti Livello) del documento della vista di disegno per applicare tali impostazioni di livello. Bollatura singola Stile Selezionare Nessuno per visualizzare il testo della bollatura senza margine o per selezionare la forma di una bollatura. La scelta di default è Circolare. Circolare Triangolare Esagono A scatola Rombo Pentagono Linea di divisione circolare Bandiera - Cinque lati Bandiera - Triangolo Sottolineato Quadrato Cerchio quadrato Ispezionare Nessuno Dimensione Selezionare una dimensione (un numero specifico di caratteri), Forzamento (che si adatta automaticamente al testo) o Dimensione personalizzata (dove è possibile impostare la dimensione della bollatura). Bollature impilate Stile Selezionare la sagoma di una bollatura. Dimensione Selezionare una dimensione (un numero specifico di caratteri), Forzamento (che si adatta automaticamente al testo) o Dimensione personalizzata (dove è possibile impostare la dimensione della bollatura). Layout bollature automatiche Selezionare un layout: Quadrato Fine Sinistra Circolare Inizio Destra Layout quadrato Argomento principaleProprietà del documento - Annotazioni Proprietà del documento - Marcatura di ubicazione Proprietà del documento - Riferimenti Proprietà del documento - Tolleranze di forma Proprietà del documento - Note Proprietà del documento - Fumetti di revisione Proprietà del documento - Finiture di superficie Proprietà del documento - Simboli di saldatura Livelli Bollature