Définition des options pour les axes de centrage

Pour définir les options des axes de centrage:

  1. Cliquez sur Options Tool_Options_Standard.gif et sélectionnez Lignes de constructions/Axes de centrage dans l'onglet Propriétés du document.
  2. Sous Axes de centrage :
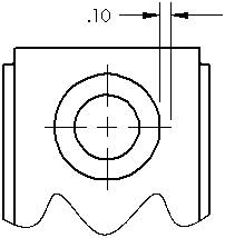
    1. Entrez une valeur pour Taille. Taille contrôle la longueur de dépassement de l'axe de centrage par rapport à l'arête du modèle et la taille du symbole de point au centre.
      cline_cmark_size.gif
    2. Saisissez une valeur d'Ecart. Ecart contrôle la distance entre l'axe de centrage et la ligne prolongée. Ecart est disponible lorsque l'option Mise à l'échelle d'après l'échelle de la vue est désactivée.

    3. Activez ou désactivez les cases à cocher pour Mise à l'échelle d'après l'échelle de la vue, Lignes prolongées et Police des lignes de construction.
  3. Sous Axes de centrage des rainures, sélectionnez Orienter par rapport à la rainure ou Orienter par rapport à la feuille et sélectionnez une option d'emplacement pour l'axe de centrage des rainures. Ces paramètres déterminent la façon dont les rainures droites ou courbes sont créées.
  4. Sélectionnez Habillage dans l'onglet Propriétés du document. Sous Insérer automatiquement lors de la création de la vue, activez ou désactivez la case à cocher :
    • Axes de centrage - perçages - pièce
    • Axes de centrage - congés - pièce
    • Axes de centrage - rainures - pièce
    • Axes de centrage - perçages - assemblage
    • Axes de centrage - congés - assemblage
    • Axes de centrage - rainures - assemblage
    Lorsqu'elle est activée, les axes de centrage sont automatiquement insérés dans tous les cercles, arcs et congés appropriés des nouvelles vues de mise en plan.
  5. Cliquez sur OK.