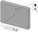
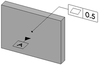
DimXpert Datum Datum unsurlarını tanımlamak için DimXpert Datum aracını kullanabilirsiniz. Bu araca erişmek için: Datum (MBD Dimension araç çubuğu) veya Araçlar > MBD Dimension > Datum öğesine tıklayın. Araç şu unsur tiplerini destekler: Yükseklik Silindir Çentik Düzlem Basit Delik Yuva Genişlik Çoğu DimXpert Datum Unsuru PropertyManager seçenekleri DimXpert olmayan Datum Unsuru PropertyManager seçenekleri ile aynıdır. Farklılıklar aşağıda belirtilmiştir. Etiket Ayarları Bir datum uygularken veya düzenlerken, bir datum Etiket'i girin ve lider tipi atayın. Araçlar > Seçenekler > Belge Özellikleri > Draft Standardı > Detaylandırmalar > Datumlar altından başlangıç etiketini belirleyin. Datum etiketi girerken, her etkin teknik çizim standardının sözdizimi için girdiler kontrol edilir. Örneğin: Bir sayısal değer girildiğinde tüm standartlar için bir hata mesajı üretilir. I, O veya Q girildiğinde ANSI'de bir hata mesajı üretilir. AA girildiğinde ISO'da bir hata mesajı üretilir. Liderler Yüzey Datum üçgenini bir unsurun yüzeyine iliştirir. Yönlendirilen Lider Datum üçgenini yönlendirilen bir lidere iliştirir. Ölçülendirme Datum üçgenini bir ölçülendirmeye veya unsur kontrol çerçevesine iliştirir. Gtol Datum üçgenini bir unsur kontrol çerçevesine iliştirir. Unsura Göre Datum Örnekleri Yükseklik Silindir Çentik Düzlem Basit Delik Yuva Genişlik Ana başlıkDimXpert Araçları Datum Unsuru PropertyManager'ı Bir Datum Unsuru Sembolünü Uygulama Bir datum unsur sembolü uygulamak için: Datum (MBD Dimension araç çubuğu) veya Araçlar > MBD Dimension > Datum öğesine tıklayın. Datum unsurunun yüzünü seçin ve datum unsur sembolünü yerleştirmek için grafik alanına tıklayın. Seçilen yüz birden fazla unsur tipini tanımlamak için kullanılabilirse, gereken unsuru seçmek için unsur seçici'yi kullanın. öğesine tıklayın.
DimXpert Datum Datum unsurlarını tanımlamak için DimXpert Datum aracını kullanabilirsiniz. Bu araca erişmek için: Datum (MBD Dimension araç çubuğu) veya Araçlar > MBD Dimension > Datum öğesine tıklayın. Araç şu unsur tiplerini destekler: Yükseklik Silindir Çentik Düzlem Basit Delik Yuva Genişlik Çoğu DimXpert Datum Unsuru PropertyManager seçenekleri DimXpert olmayan Datum Unsuru PropertyManager seçenekleri ile aynıdır. Farklılıklar aşağıda belirtilmiştir. Etiket Ayarları Bir datum uygularken veya düzenlerken, bir datum Etiket'i girin ve lider tipi atayın. Araçlar > Seçenekler > Belge Özellikleri > Draft Standardı > Detaylandırmalar > Datumlar altından başlangıç etiketini belirleyin. Datum etiketi girerken, her etkin teknik çizim standardının sözdizimi için girdiler kontrol edilir. Örneğin: Bir sayısal değer girildiğinde tüm standartlar için bir hata mesajı üretilir. I, O veya Q girildiğinde ANSI'de bir hata mesajı üretilir. AA girildiğinde ISO'da bir hata mesajı üretilir. Liderler Yüzey Datum üçgenini bir unsurun yüzeyine iliştirir. Yönlendirilen Lider Datum üçgenini yönlendirilen bir lidere iliştirir. Ölçülendirme Datum üçgenini bir ölçülendirmeye veya unsur kontrol çerçevesine iliştirir. Gtol Datum üçgenini bir unsur kontrol çerçevesine iliştirir. Unsura Göre Datum Örnekleri Yükseklik Silindir Çentik Düzlem Basit Delik Yuva Genişlik Ana başlıkDimXpert Araçları Datum Unsuru PropertyManager'ı Bir Datum Unsuru Sembolünü Uygulama Bir datum unsur sembolü uygulamak için: Datum (MBD Dimension araç çubuğu) veya Araçlar > MBD Dimension > Datum öğesine tıklayın. Datum unsurunun yüzünü seçin ve datum unsur sembolünü yerleştirmek için grafik alanına tıklayın. Seçilen yüz birden fazla unsur tipini tanımlamak için kullanılabilirse, gereken unsuru seçmek için unsur seçici'yi kullanın. öğesine tıklayın.
Bir Datum Unsuru Sembolünü Uygulama Bir datum unsur sembolü uygulamak için: Datum (MBD Dimension araç çubuğu) veya Araçlar > MBD Dimension > Datum öğesine tıklayın. Datum unsurunun yüzünü seçin ve datum unsur sembolünü yerleştirmek için grafik alanına tıklayın. Seçilen yüz birden fazla unsur tipini tanımlamak için kullanılabilirse, gereken unsuru seçmek için unsur seçici'yi kullanın. öğesine tıklayın.