DimXpert Datum

You can use the DimXpert Datum tool to define datum features.

To access this tool:

Click Datum (MBD Dimension toolbar) or Tools > MBD Dimension > Datum.

The tool supports these feature types:

  • Boss
  • Cylinder
  • Notch
  • Plane
  • Simple Hole
  • Slot
  • Width

Most DimXpert Datum Feature PropertyManager options are the same as the non-DimXpert Datum Feature PropertyManager. Differences are noted below.

Label Settings

When applying or editing a datum, enter a datum Label and assign a leader type.

Specify the starting label under Tools > Options > Document Properties > Drafting Standard > Annotations > Datums.

When entering datum labels, the inputs are checked for syntax per the active drawing standard. For example:

  • Entering a numeric generates a warning message for all standards.
  • Entering an I, O, or Q generates a warning message when in ANSI.
  • Entering AA generates a warning message when in ISO.

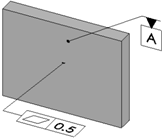
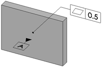
Leader

Surface Attaches the datum triangle to a feature's surface.

Directed Leader Attaches the datum triangle to a directed leader.

Dimension Attaches the datum triangle to a dimension or a feature control frame.



Gtol Attaches the datum triangle to a feature control frame.

Datum Examples by Feature

Boss
Cylinder
Notch
Plane
Simple Hole

Slot
Width