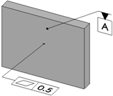
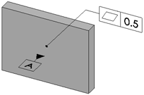
DimXpert Datum You can use the DimXpert Datum tool to define datum features. To access this tool: Click Datum (MBD Dimension toolbar) or Tools > MBD Dimension > Datum. The tool supports these feature types: Boss Cylinder Notch Plane Simple Hole Slot Width Most DimXpert Datum Feature PropertyManager options are the same as the non-DimXpert Datum Feature PropertyManager. Differences are noted below. Label Settings When applying or editing a datum, enter a datum Label and assign a leader type. Specify the starting label under Tools > Options > Document Properties > Drafting Standard > Annotations > Datums. When entering datum labels, the inputs are checked for syntax per the active drawing standard. For example: Entering a numeric generates a warning message for all standards. Entering an I, O, or Q generates a warning message when in ANSI. Entering AA generates a warning message when in ISO. Leader Surface Attaches the datum triangle to a feature's surface. Directed Leader Attaches the datum triangle to a directed leader. Dimension Attaches the datum triangle to a dimension or a feature control frame. Gtol Attaches the datum triangle to a feature control frame. Datum Examples by Feature Boss Cylinder Notch Plane Simple Hole Slot Width Parent topicDimXpert Tools Datum Feature PropertyManager Applying a Datum Feature Symbol To apply a datum feature symbol: Click Datum (MBD Dimension toolbar) or Tools > MBD Dimension > Datum. Select the face of the datum feature and click in the graphics area to place the datum feature symbol. If the selected face can be used to define more than one feature type, use the feature selector to choose the required feature. Click .
DimXpert Datum You can use the DimXpert Datum tool to define datum features. To access this tool: Click Datum (MBD Dimension toolbar) or Tools > MBD Dimension > Datum. The tool supports these feature types: Boss Cylinder Notch Plane Simple Hole Slot Width Most DimXpert Datum Feature PropertyManager options are the same as the non-DimXpert Datum Feature PropertyManager. Differences are noted below. Label Settings When applying or editing a datum, enter a datum Label and assign a leader type. Specify the starting label under Tools > Options > Document Properties > Drafting Standard > Annotations > Datums. When entering datum labels, the inputs are checked for syntax per the active drawing standard. For example: Entering a numeric generates a warning message for all standards. Entering an I, O, or Q generates a warning message when in ANSI. Entering AA generates a warning message when in ISO. Leader Surface Attaches the datum triangle to a feature's surface. Directed Leader Attaches the datum triangle to a directed leader. Dimension Attaches the datum triangle to a dimension or a feature control frame. Gtol Attaches the datum triangle to a feature control frame. Datum Examples by Feature Boss Cylinder Notch Plane Simple Hole Slot Width Parent topicDimXpert Tools Datum Feature PropertyManager Applying a Datum Feature Symbol To apply a datum feature symbol: Click Datum (MBD Dimension toolbar) or Tools > MBD Dimension > Datum. Select the face of the datum feature and click in the graphics area to place the datum feature symbol. If the selected face can be used to define more than one feature type, use the feature selector to choose the required feature. Click .
Applying a Datum Feature Symbol To apply a datum feature symbol: Click Datum (MBD Dimension toolbar) or Tools > MBD Dimension > Datum. Select the face of the datum feature and click in the graphics area to place the datum feature symbol. If the selected face can be used to define more than one feature type, use the feature selector to choose the required feature. Click .